Индикатор разности напряжений

Иногда в радиолюбительской практике бывает нужно сравнивать между собой два напряжения и следить за изменением их разности. Конечно, могут сказать, для этой цели можно воспользоваться двумя вольтметрами, по стрелочным индикаторам которых нетрудно сделать нужную оценку. Однако подобный способ не всегда приемлем и а силу своего несовершенства, и из-за невысокой точности при оценке небольшой разности напряжений.
Вот здесь и придет на помощь электроника, в частности предлагаемый индикатор, схема которого в общем виде представлена на рис.1. Это дифференциальный усилитель, выполненный на транзисторах VT1 и VT2, нагрузками которых являются светодиоды HL1 и HL2. Отличительная особенность индикатора - объединение функций устройств сравнения и индикации в одном каскаде.

 

При равенстве входных постоянных напряжений, поданных на разъемы XS1 и XS2, яркость свечения светодиодов одинакова. Но стоит измениться одному из напряжений примерно на 3%, как различие в яркости свечения станет заметным, а при разнице входных сигналов свыше 20% будет гореть только один светодиод, по которому и определяют знак разности напряжений.
Каковы же практические возможности подобного индикатора? Вот два примера, которыми радиолюбители смогут воспользоваться при разработке различных конструкций.

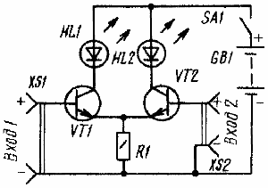
Калибратор амплитуды - так можно назвать индикатор, схема которого приведена на рис.2. На разъем XS1 подают переменное напряжение, за амплитудой которого нужно следить и поддерживать ее на определенном уровне - его задают образцовым напряжением (от 0,5 до 5 В), устанавливаемым на базе транзистора VT2 подстроечным резистором R3. Пока амплитуда входного сигнала сравнима с заданным значением, яркость светодиодов одинакова. При отклонениях амплитуды в ту или иную сторону перестает светиться соответствующий светодиод.
Калибруют индикатор на заданный уровень сигнала так. На вход индикатора подают сигнал, например, амплитудой 1В, и перемещением движка подстроечного резистора добиваются одинаковой яркости светодиодов. При этом погрешность установки опорного напряжения не превысит 3%. Если подстроечный резистор заменить на переменный и снабдить соответствующей шкалой и отградуировать ее, в дальнейшем можно быстро устанавливать нужное значение опорного напряжения, а значит, контролируемый уровень входного сигнала.
Частотный диапазон калибратора составляет 20 Гц... 100 кГц. Питать его следует от стабилизированного источника постоянного тока напряжением 10. ..25 В. Однако при напряжении более 20 В резистор R2 должен быть сопротивлением 2,2 кОм.
Одно из практических применении подобного калибратора - индикатор уровня записи монофонического магнитофона. Конечно, калибратор может работать и в стереофоническом магнитофоне, позволяя точнее устанавливать одинаковое усиление по каналам. В этом случае к базе транзистора VT2 вместо резисторов R3, R4 подключают такую же цепочку, что и к базе VT1. Получится еще один вход. Теперь каждый вход соединяют со своим каналом усилителя. Воспроизводя какую-нибудь запись в режиме "Моно", регуляторами магнитофона устанавливают одинаковую яркость светодиодов. Иначе говоря, калибратор становится в этом случае индикатором стереобаланса.
Входы калибратора соединяют с одинаковыми цепями усилителей каналов, в которых амплитуда сигнала лежит в указанных выше пределах (0,5...5 В).
Если при подключении калибратора будет наблюдаться искажение звука в магнитофоне, придется установить перед входами калибратора эмиттерные повторители, выполненные по общепринятой схеме.
Несколько преобразовав схему предыдущего устройства, получите индикатор разрядки батарей, например, гальванических элементов (рис.3). Опорное напряжение в нем образуется параметрическим стабилизатором, составленным из балластного резистора и стабилитрона (детали R4 и VD1).
Работу индикатора иллюстрирует рис.4. В интервале напряжений батареи 12,6...7 В горит светодиод HL1, причем яркость его почти не изменяется. Если же напряжение падает ниже 7 В, начинает гореть светодиод HL1 и одновременно уменьшается яркость HL2. Одинаковая яркость обоих светодиодов может свидетельствовать о необходимости подзарядить батарею (если она составлена из аккумуляторов) или заменить ее. В интервале напряжений 6...2,5 В будет гореть светодиод HL2, информируя об уменьшении напряжения батареи ниже нормы.
Подстросчным резистором R2 можно смещать граничную область (dU на рис. 4) от 3,8...4,3 В при нижнем, по схеме, положении движка до 11 ..,12,3 В при верхнем положении.
Подобный индикатор удобно использовать, скажем, в автомобиле для контроля напряжения бортовой сети. При максимальном напряжении питания индикатор потребляет ток около 2 мА, а при напряжении 6В - примерно 1,2 мА, Светодиоды могут быть и другие, но тогда придется подобрать резистор R3 для получения нужной яркости свечения.
При замене указанных на схеме кремниевых транзисторов германиевыми структуры n-p-n (МП37Б) наблюдалось некоторое расширение зоны dU, в пределах которой горят оба светодиода, до 1,5 В. В случае использования кремниевых транзисторов серий КТ361, КТ349, КТ3107 и аналогичных структуры p-n-p придется изменить полярность подключения светодиодов, стабилитрона и источника питания.
Обсудить эту статью на форуме (0 ответов).
Вся информация, предоставленная на данном ресурсе разрешена к ознакомлению детям школьного возраста. Все практическое использование может быть связана с повышенной электрической опасностью и разрешено детям только под присмотром взрослых.