мини пробник на дискретных элэментах

В статье Е. Зуева "Пробник для проверки аудиоаппаратуры" в "Радио", 1999, № 8, с. 68 рассказывалось о малогабаритном пробнике на микросхеме К174ХА10, с помощью которого можно прослеживать прохождение сигнала 3Ч через каскады усилителей различной аппаратуры и обнаруживать неисправности.

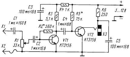
http://www.radio-portal.ru/images/stories/pictures/m_prob.pngЕсли нет указанной микросхемы, пробник нетрудно выполнить на дискретных элементах (см. рисунок). Он также малогабаритный и позволяет прослушивать сигнал, касаясь щупом непосредственно выводов магнитной головки, например, плейера или выводов деталей усилительных каскадов.

Кроме указанных на схеме, подойдут транзисторы КТ315Г, КТ315Е с коэффициентом передачи тока более 100. Оксидные конденсаторы - К50-35 либо другие малогабаритные. Постоянные резисторы МЛТ, переменный R1 - СП3-4аМ. В разъем Х3 включают малогабаритный головной телефон (или стереофонические телефоны) с возможно большим сопротивлением. Щуп Х1 (им касаются выводов деталей проверяемых каскадов) - отрезок медного провода диаметром 2 мм и длиной 70 мм, Х2 (его подключают к общему проводу контролируемой конструкции) - зажим "крокодил", соединенный с деталями пробника многожильным монтажным проводом.

Питают пробник либо от автономного источника, либо от батареи конструкции.

Налаживают прибор при питающем напряжении 9 В. Сначала подбором резистора R2 устанавливают напряжение на коллекторе транзистора VT1 примерно 4 В. Затем включают в разъем Х3 телефон и подбором резистора R5 устанавливают напряжение на коллекторе транзистора VT2, равное половине питающего.

При работе с пробником устанавливают переменным резистором такую громкость звука в телефоне, чтобы не было искажений.

Обсудить эту статью на форуме (0 ответов).
Вся информация, предоставленная на данном ресурсе разрешена к ознакомлению детям школьного возраста. Все практическое использование может быть связана с повышенной электрической опасностью и разрешено детям только под присмотром взрослых.