Радиопробник

Так условно назовем эту конструкцию, которая окажет несомненную помощь при налаживании или ремонте различных радиоприемных, усилительных и генераторных устройств и позволит на слух проверять работу отдельных каскадов.
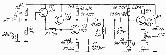
Пробник (рис.1) представляет собой широкополосный радиоприемник без органов настройки, с трехкаскадным усилителем радиочастоты. Транзисторы VT1, VT2 включены по схеме с общим коллектором, что обеспечивает достаточно большое входное сопротивление усилителя и позволяет подключать его входные гнезда Х1 и Х2 к соответствующим цепям проверяемого аппарата, не внося заметной расстройки контуров. Каскад на транзисторе VT3 усиливает сигнал по напряжению.
Режим транзисторов усилителя РЧ по постоянному току задается резисторами R1-R6. С нагрузки усилителя - резистора R5 - сигнал поступает на детекторный каскад, в котором работает диод VD1. Составляющая звуковой частоты продетектированного сигнала выделяется на резисторе R7, после чего усиливается каскадом на транзисторе VT4 - нагрузкой его служит головной телефон BF1.
Если нужно проверить звуковой тракт радиоприемника, электрофона либо проконтролировать работу генератора колебаний ЗЧ, провод со щупом на конце подсоединяют к гнезду ХЗ или Х4. Первое из них рассчитано на более слабый сигнал, через второе подают сигнал высокого уровня. При любом испытании гнездо Х2 соединяют с общим проводом исследуемого устройства. Питается пробник от гальванической батареи GB1, подключаемой выключателем SA1.
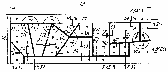
Детали пробника располагают на печатной плате (рис.2) из фольгированного стеклотекстолита либо на пластине обычного текстолита или гетинакса.

Принципиальная схема радиопробника

Для усилителя РЧ, кроме указанных на схеме, годятся транзисторы КТ361В либо МП42Б, в усилителе ЗЧ хорошо работает любой транзистор из серий МП39-МП41. Диод детектора может быть любой из серии Д9, резисторы - МЛТ, МТ мощностью не менее 0,125 Вт, конденсаторы -оксидные К50-6(С5, С6) и КЛС (остальные). Телефон лучше взять типа ТОН-2, в качестве источника питания подойдет батарея 3336.
Собрав прибор и включив питание, полезно проверить соответствие токов транзисторов VT3, VT4 указанным на схеме. В случае значительных отличий подбирают соответственно резистор R1 или R8.
В заключение следует заметить, что при желании можно расширить функциональные возможности устройства: добавление магнитной антенны, подключаемой к усилителю РЧ отдельным выключателем, позволит вести прием местных радиостанций. Понятно, в этом случае придется несколько увеличить габариты корпуса и платы.

Ю. Прокопцев, г.Москва, Радио №2, 1994 г., стр.27

Обсудить эту статью на форуме (0 ответов).
Вся информация, предоставленная на данном ресурсе разрешена к ознакомлению детям школьного возраста. Все практическое использование может быть связана с повышенной электрической опасностью и разрешено детям только под присмотром взрослых.