Электросон

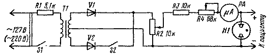
Простой прибор электросна для индивидуального пользования представлен на рисунке.

Электросон безвреден и дает хорошие результаты при лечении неврозов, астенических состояний и шизофрении. Применяется при лечении повышенного давления, аритмии сердца, бронхиальной астмы и др. Под электросном понимается сон или расслабленное состояние при отсутствии сна, наступающее под воздействием на человека слабого (не более 0,2 мА) импульсного тока. При проведении сеанса электросна один электрод прибора накладывают на лобный участок, ближе к переносице, а другой - на затылок, ближе к шее. Электроды выполняют в виде свинцовых пластин площадью 2 см2, обматывают марлей, смоченной в слабом растворе поваренной соли, а затем прибинтовывают к голове. Направление тока предписывает врач. Обычно при так называемом восходящем направлении, когда ко лбу прикладывается катод (минус), а к затылку анод (плюс), лучше наступает усыпление. Обратное направление тока лучше устраняет головные боли. Предложенный прибор за счет насыщения сердечника трансформатора позволяет вырабатывать импульсы колоколообразной формы с частотами следования 50 и 100 Гц. Частота 100 Гц создает иногда более сильное действие, поэтому она не рекомендуется при лечении детей и пожилых людей.

Детали.Трансформатор Т1 собран на сердечнике из пермаллоя Ш6 X 8. Первичная обмотка содержит 1000 витков провода ПЭВ-0,08, вторичная - (1000 + 1000) витков того же провода. Для обеспечения хорошей изоляции обмоток друг от друга их выполняют на отдельных каркасах, располагая на крайних стержнях сердечника. Неоновая лампа типа МН-3 служит для защиты от перегрузки по току. Сопротивление R1 остеклованное, проволочное, мощностью " 10 Вт. От его величины зависит форма и длительность импульсов. Величина тока и напряжения регулируется резисторами R4 и R2 соответственно. Миллиамперметр рассчитан на ток до 2 мА. Перед применением прибора необходимо его проверить на пробой испытательным напряжением в 3 кВ между первичной и вторичной обмотками трансформатора, а

Обсудить эту статью на форуме (0 ответов).
Вся информация, предоставленная на данном ресурсе разрешена к ознакомлению детям школьного возраста. Все практическое использование может быть связана с повышенной электрической опасностью и разрешено детям только под присмотром взрослых.