Переговорное устройство по сети 220В

Принцип действия этих устройств основан на том, что по проводам электрической сети можно передавать электромагнитные колебания с частотой от 10 кГц до 100 кГц, и они могут беспрепятственно распространяться до ближайшего трансформатора.
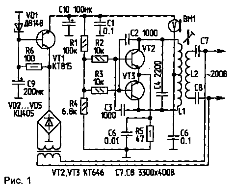
В простейшем виде это устройство представляет собой генератор ВЧ (рис.1) и детекторный приемник с УНЧ (рис.2).
Автогенератор собран по обычной двухтактной схеме. Он модулируется по амплитуде угольным микрофоном ВМ1, включенным в цепь питания коллекторов VT2, VT3. Катушки L1...L4 размещены в сердечниках СБ-12 или аналогичных. Важно, чтобы L1 и L4 были идентичными по количеству витков, диаметру провода и способу намотки.
L1 содержит 100 витков с отводом от середины. Провод - диаметром 0,1...0,15 мм. Обе половины катушки наматываются в разных секциях каркаса, т.е. половина - в одной секции и половина - в другой.
L2 содержит примерно 50 витков провода диаметром 0,1...0,15 мм и наматывается поверх L1.
L4 - 100 витков; наматывается аналогично L1, но без отвода.
L3 - 50 витков, поверх L4.
Для увеличения дальности действия можно применить УВЧ в приемнике, а также усилитель мощности в передатчике. Для более качественной модуляции можно применить модулятор на транзисторах, желательно с микрофонным компрессором.
Не следует сильно увеличивать мощность, так как это приводит к появлению помех в аппаратуре, питаемой от сети. Не следует также повышать частоту выше 150 кГц, так как это приводит к появлению помех в эфире.

 
Обсудить эту статью на форуме (0 ответов).
Вся информация, предоставленная на данном ресурсе разрешена к ознакомлению детям школьного возраста. Все практическое использование может быть связана с повышенной электрической опасностью и разрешено детям только под присмотром взрослых.