Переговорное устройство

Чтобы организовать связь между двумя удаленными друг от друга пунктами, их можно оборудовать переговорным устройством. Обычно такое устройство состоит из двух усилителей с динамическими головками. Нагрузкой каждого из усилителей служит динамическая головка, установленная в корпусе другого усилителя.
Недостатком такой связи считают потери в линии, возрастающие с увеличением расстояния между пунктами. Если же выходной сигнал одного усилителя ("передающего" в данный момент пункта) будет поступать не на динамическую головку, а на вход второго усилителя ("приемного" пункта), потери в линии связи значительно уменьшатся. Переговорным устройством можно будет пользоваться на расстоянии между пунктами в несколько километров. Да и для питания усилителей подойдет "низковольтный" источник, скажем, напряжением 1,5 В.
О таком переговорном устройстве и пойдет рассказ. Оно состоит из двух небольших одинаковых пультов, соединенных между собой двухпроводной линией связи. Каждый пульт содержит динамическую головку, используемую как по прямому назначению, так и в качестве микрофона, плату усилителя, на которой смонтирован также переключатель режимов работы, источник питания - элемент 373 и гнезда для соединения с линией связи.
Принципиальная схема приведена на рис. 1. На транзисторах VT2-VT4 собран усилитель звуковой частоты. С коллектора транзистора VT4 на базу VT2 подано через резистор R8 напряжение отрицательной обратной связи, которая стабилизирует режимы транзисторов и коэффициент усиления по напряжению, а также снижает коэффициент гармоник. Коэффициент усиления по напряжению равен отношению сопротивлений резисторов R8 и R5, т. е. около 300. Конденсатор С2 снижает усиление сигналов частотой ниже 500 Гц.
Входной сигнал с линии связи подается через конденсатор С1 в эмиттерную цепь транзистора VT2, поэтому по переменному току транзистор VT2 включен по схеме с общей базой, обладающей низким входным сопротивлением, необходимым для согласования с сопротивлением звуковой катушки динамической головки при работе ее микрофоном. Емкость конденсатора С1 выбрана сравнительно небольшой, благодаря чему выравнивается амплитудно-частотная характеристика головки как микрофона. Резистор R2 обеспечивает прохождение постоянной составляющей эмиттерного тока транзистора VT2, а конденсатор С2 защищает вход усилителя от высокочастотных помех.

 

Каскад на транзисторе VT1 - электронный ключ, подающий напряжение питания на первый каскад усилителя. Резистор R3 - коллекторная нагрузка транзистора VT2. С него усиленный первым каскадом сигнал подается на базу транзистора VT3 следующего каскада усиления. Далее следует выходной каскад на транзисторе VT4. Его нагрузкой служат в режиме приема динамическая головка ВА1, а в режиме передачи - резисторы R9, R10 и последовательно соединенные сопротивление линии связи и входное сопротивление усилителя пульта А2. Резистор R7 ограничивает ток коллектора транзистора VT3, а конденсатор С4 предотвращает самовозбуждение усилителя.
В режиме ожидания (в показанном на схеме положении переключателя SB1) транзисторы обоих пультов закрыты, ток, потребляемый каждым пультом от источника питания, не превышает 1 мкА.
При нажатии на кнопку SB1 динамическая головка ВА1 подключается ко входу усилителя, а провод линии, подключенный к гнезду XS1, соединяется с выходом усилителя. Минус источника питания G1 поступает через резистор R10 на вход усилителя второго пульта по линии связи. Транзистор VT1 в пульте А2 открывается и подает напряжение питания на транзистор VT2. Включается усилитель второго пульта.
В пульте А1 усилитель также включается, поскольку транзистор VT1 открывается током, протекающим в его базовой цепи через динамическую головку ВА1. При разговоре перед головкой напряжение, вырабатываемое в ее звуковой катушке, усиливается и поступает через конденсатор С5 в линию связи. Сигнал, ослабленный в линии связи, вновь усиливается и поступает на динамическую головку.
Аналогично работает переговорное устройство и при нажатии кнопки переключателя SB1 на втором пульте. Ток, потребляемый от источника питания, в передающем пульте (в данном случае А1) возрастает до 3,5 мА, а в принимающем (А2) - до 100 мА.
Для упрощения переговорного устройства в нем отсутствует регулировка громкости, Поэтому во избежание значительных искажений следует учитывать, что при короткой линии связи (до 2 км) говорить нужно негромко, на расстоянии вытянутой руки. При длине же линии 5... 10 км (это максимальное расстояние) желательно говорить громко и на расстоянии 20... 10 см от пульта.
Вряд ли придется использовать переговорное устройство для связи на расстояниях в 10 км, но способность его работать при большом сопротивлении линии связи можно использовать для экономии провода, особенно в полевых условиях. Для этого линию связи выполняют одножильным изолированным проводом, а свободные гнезда разъемов заземляют с помощью штырей из стальной проволоки диаметром 4...6 мм и длиной 500 мм.
В предлагаемой конструкции сигнал из линии связи поступает на вход усилителя через внутреннее сопротивление источника питания, поэтому для предотвращения снижения усиления по мере разрядки элемента и повышения его внутреннего сопротивления можно включить параллельно элементу конденсатор С6 емкостью 200...1000 мкф.
В переговорном устройстве резисторы могут быть МЛТ-0,125 или МЛТ-0,25; конденсаторы С2 и С4 - КТ-1, КЛС, КМ-5, КМ-6; С1, С3, С5, С6 - оксидные любого типа, на любое номинальное напряжение, возможно меньших габаритов; динамическая головка - 0.25ГД-19; переключатель - П2К без фиксации положения.
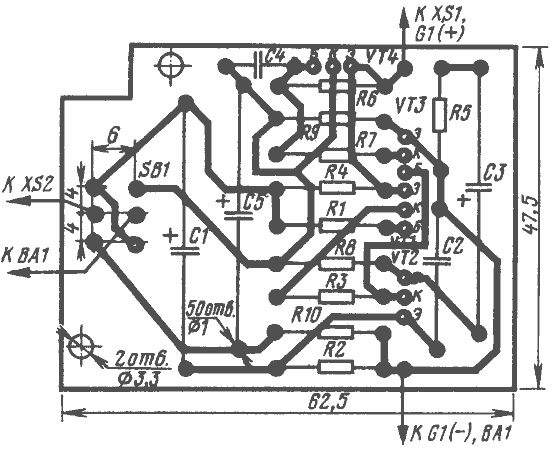
Детали усилителя монтируют на плате (рис. 2) из одностороннего фольгированного стеклотекстолита. Для улучшения работы головки в микрофонном режиме применено акустическое демпфирование с помощью кольца из поролона, приклеенного к магнитной системе головки,
Обсудить эту статью на форуме (0 ответов).
Вся информация, предоставленная на данном ресурсе разрешена к ознакомлению детям школьного возраста. Все практическое использование может быть связана с повышенной электрической опасностью и разрешено детям только под присмотром взрослых.