Переговорное устройство с двухпроводной линией связи

Наиболее удобным в пользовании было бы переговорное устройство, в котором вызов абонента осуществлялся бы простым снятием трубки...
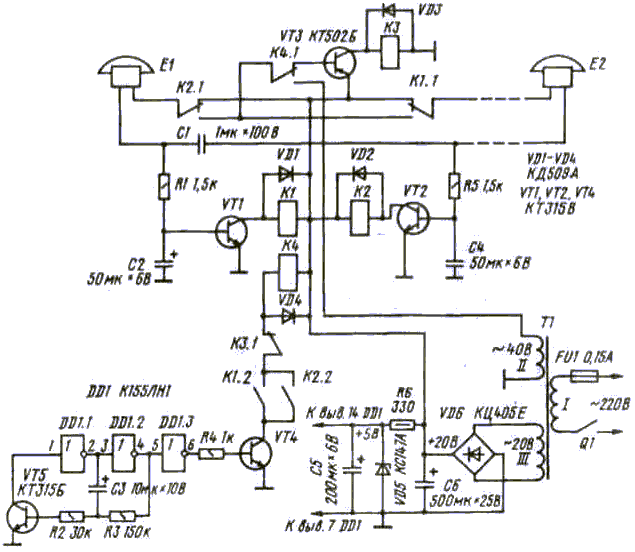
Принципиальная схема устройства, отвечающего такому требованию, приведена на рис.1. В этом устройстве оба абонента равнозначны.

Предположим, первому абоненту необходимо связаться со вторым. В этом случае он снимает трубку, и положительное напряжение через нормально замкнутые контакты реле К2.1, сопротивление телефонного аппарата E1 и резистор R1 подается на базу транзистора VT1. Реле К1 срабатывает и контактами К1.2 замкнет цепь питания реле К4, а контактами К 1.1 замкнет линию подачи вызывного тока на аппарат Е2. Реле К4, управляемое импульсами генератора на логических элементах DD1.1 и DD1.2, будет периодически срабатывать с частотой 0,2...0,25 Гц, а его контакты К4.1 станут подавать на аппарат Е2 вызывное переменное напряжение, в результате чего и в этом аппарате будет звонить звонок. При снятии телефонной трубки аппарата Е2 на базу транзистора VT3 поступает открывающее его отрицательное напряжение, срабатывает реле КЗ и контактами КЗ.1 обесточивает реле К4. Одновременно срабатывает реле К2 и контактами К2.1 подключает линию аппарата Е1 к линии аппарата К2. Можно вести разговор. В течение разговора реле К1?КЗ находятся под током, а после возвращения трубок обоих телефонных аппаратов на рычаги устанавливаются в исходное состояние.

Рис.1 Переговорное устройство с двухпроводной линией связи
Рис.1 Переговорное устройство с двухпроводной линией связи

Аналогично работает переговорное устройство и при вызове первого абонента вторым.

Конденсаторы С2, С4 предотвращают вибрацию якорей реле К1, К2 при прохождении через телефонные аппараты и резисторы R1 и R5 тока вызова, а также замыкают по переменному току цепь вызывного сигнала. Эти конденсаторы, кроме того, не позволяют отпускать реле К1 <К2) при переключении контактов К2.1 (К 1.1) соответственно. Конденсатор С1 замыкает разговорную цепь по переменному току. Кроме того, наличие этого конденсатора позволяет контролировать исправность линии вызываемого абонента: если линия исправна, то в трубке вызывающего абонента слышен сигнал вызывного тока (50 Гц).

Сетевой трансформатор выполнен на ленточном магнитопроводе ШЛ 16х25. Обмотка I содержит 2200 витков провода ПЭВ-2 0,08, обмотка II - 400 витков ПЭВ-2 0,10, обмотка III - 200 витков ПЭВ-2 0,19. Можно использовать также и готовые унифицированные трансформаторы ТПП216, ТПП217, ТПП218, ТПП225, ТПП226, ТПП234-ТГ1П238, ТПП247, ТПП248 и др., соединив соответствующим образом их обмотки для получения нужного напряжения (справочные данные приведены в журнале "Радио , 1982 г., No 1,c.59-60).

Микросхему К155ЛН1 (DDI) можно заменить аналогичной из серий К133, К555. Можно также применить микросхему K155JIA3 (или ее аналоги из других серий), соединив входы каждого ее элемента вместе. Транзистор VT3 может быть серий КТ501 (Г-М), КТ502 (с любыми буквами), КТ203 (А,Б), КТ361 (В-Е). Реле К1 и К2 - РЭС48 (паспорт РС4.590.207) или РЭС9 (паспорт РС4.524.201). Конденсатор С1 - К73-16, К73-17, МБМ.

Все детали переговорного устройства, за исключением трансформатора Т1, предохранителя FU1 и выключателя питания Q1, размещены на печатной плате (рис.2). Использованы реле типов РЭС15 (КЗ, К4), РЭС48 (К1, К2), конденсатор С1 -К73-17.

Просмотров: 4291 Обсудить эту статью на форуме (0 ответов).
Яндекс.Метрика РадиоКОТ - популярно об электронике. Авторские схемы, новые разработки. Обучение по электронике, микроконтроллерам, ПЛИС. Форум
Top.Mail.Ru
Designed by admin@radio-portal.su.     Technical support Doc
Вся информация, предоставленная на данном ресурсе разрешена к ознакомлению детям школьного возраста. Все практическое использование может быть связана с повышенной электрической опасностью и разрешено детям только под присмотром взрослых.