Устройство удержания телефонной линии

 Предлагаемое устройство выполняет функцию удержания телефонной линии ("HOLD"), что позволяет во время разговора положить трубку на рычаг и перейти к параллельному телефонному аппарату.

Устройство не перегружает телефонную линию (ТЛ) и не создает в ней помех. Во время срабатывания вызывающий абонент слышит музыкальную заставку.

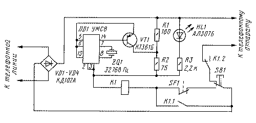
Схема устройства удержания телефонной линии показана на рисунке. Выпрямительный мост на диодах VD1-VD4 обеспечивает нужную полярность питания устройства независимо от полярности подключения его к ТЛ. Переключатель SF1 связан с рычагом телефонного аппарата (ТА) и замыкается при поднятии трубки (т.е. блокирует кнопку SB1 при положенной трубке). Если во время разговора необходимо перейти к параллельному ТА, надо кратковременно нажать кнопку SB1. При этом срабатывает реле K1 (замыкаются контакты K1.1, а контакты K1.2 размыкаются), к ТЛ подключается эквивалент нагрузки (цепь R1R2K1) и отключается ТА, с которого велся разговор. Теперь можно положить трубку на рычаг и перейти к параллельному ТА.

Падение напряжения на эквиваленте нагрузки составляет 17 В. При поднятии трубки на параллельном ТА напряжение в ТЛ падает до 10 В, реле K1 отключается и эквивалент нагрузки отключается от ТЛ.

Транзистор VT1 должен иметь коэффициент передачи не менее 100, при этом амплитуда переменного напряжения звуковой частоты, выдаваемого в ТЛ, достигает 40 мВ. В качестве музыкального синтезатора (DD1) использована микросхема УМС8, в которой "зашиты" две мелодии и сигнал будильника. Поэтому вывод 6 ("выбор мелодии") соединен с выводом 5. В этом случае воспроизводится один раз первая мелодия, а затем вторая бесконечно.

В качестве SF1 можно использовать микропереключатель МП или геркон, управляемый магнитом (магнит должен быть приклеен к рычагу ТА). Кнопка SB1 - КМ1.1, светодиод HL1 - любой из серии АЛ307. Диоды VD1-VD4 - любые, допускающие обратное напряжение не менее 200 В. Реле K1 - РЭС-47 (паспорт РФ4.500.409, РФ4.500.431 или РФ4.500.432).

Устройство выполнено навесным монтажем и в налаживании не нуждается.

Применив резистор R1 сопротивлением 270...390 Ом, можно увеличить падение напряжения на эквиваленте нагрузки до 20...25 В, что позволит использовать такие ТА, при поднятии трубки которых напряжение в ТЛ составляет 15...20 В. Резистор R3 в этом случае применяют сопротивлением 3...3.3 кОм. Падение напряжения на резисторе R2 не должно превышать 3 В, иначе необходимо будет уменьшить сопротивление

Обсудить эту статью на форуме (0 ответов).
Вся информация, предоставленная на данном ресурсе разрешена к ознакомлению детям школьного возраста. Все практическое использование может быть связана с повышенной электрической опасностью и разрешено детям только под присмотром взрослых.