Мощный импульсный стабилизатор постоянного напряжения

Среди импульсных стабилизаторов напряжения особый класс образуют устройства с широтно-импульсным (ШИ) принципом регулирования выходного напряжения. Их отличительное свойство - постоянство уровня пульсации во всем интервале тока нагрузки. Возможна синхронизация стабилизатора вместе с питаемыми цифровыми устройствами, что позволяет в ряде случаев упростить решение вопроса об их совместимости.
Стабилизатор предназначен для питания радиоэлектронной аппаратуры выполненной на цифровых микросхемах. Он имеет мягкий запуск без выбросов выходного напряжения, двуступенную защиту по нагрузочному току с автоматическим возвратом в рабочий режим после снятия перегрузки и способен длительное время находиться в режиме замыкания выходной цепи.
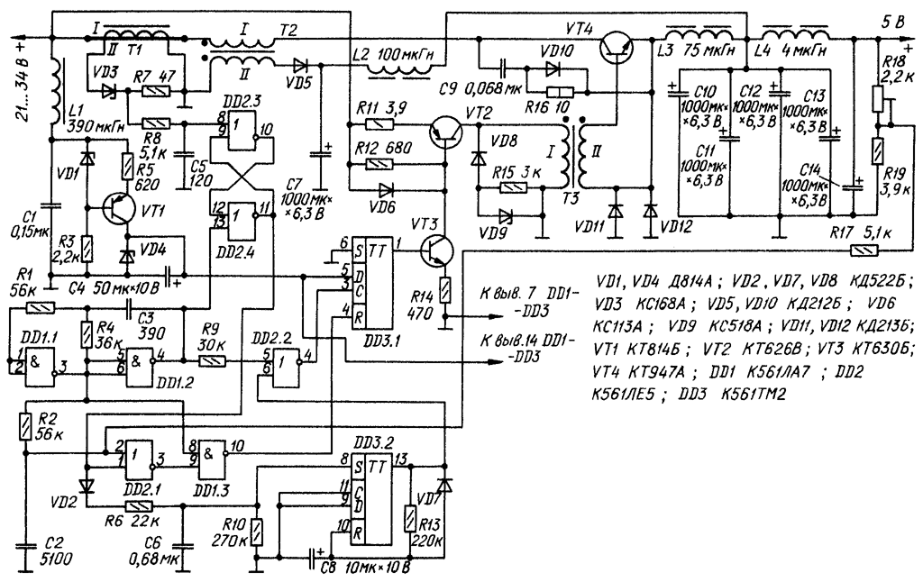
Принципиальная схема стабилизатора изображена на рис.1. На элементах DD1.1, DD1.2 выполнен тактовый генератор прямоугольных импульсов. Цепь, состоящая из резистора R9 и входной емкости элемента DD2.2, создает некоторую временную задержку импульсов. Таким образом, на выходе элемента DD2.2 действует сигнал прямоугольной формы, задержанный относительно сигнала на выходе элемента DD1.1 на 0,4...0,5 мкс.
Узел широтноимпульсного регулирования построен на элементах DD1.3, DD2.1, DD2.2 и триггере DD3.1. Импульсы управления ключевым элементом стабилизатора формирует триггер DD3.1. По фронту задержанного импульса генератора триггер переключается в единичное состояние. Цепь R2C2 формирует на верхнем по схеме входе элемента DD2.1 треугольные импульсы напряжения с амплитудой около 100 мВ. Триггер переключается в состояние 0 по входу R.
При запуске выходное напряжение в первый момент равно нулю и на входе (вывод 2) элемента DD2.1 действуют только треугольные импульсы, амплитуда которых меньше порогового напряжения элемента (для применяемых в стабилизаторе КМОП микросхем оно равно 0,55...0,6 от их напряжения питания). На нижнем входе элемента DD1.3 действует единичный сигнал и триггер DD3.1 переключается в нулевое состояние при появлении сигнала низкого уровня на выходе элемента DD1.1. При этом длительность единичного состояния триггера DD3.1 максимальна и близка к полупериоду колебаний генератора, что соответствует максимальному времени открытого состояния ключевого элемента.
Когда выходное напряжение достигнет зоны регулирования, напряжение на верхнем входе элемента DD2.1 будет успевать увеличиваться до порогового значения раньше, чем появляется спад импульса на верхнем входе элемента DD1.3, и продолжительность единичного состояния триггера DD3.1 уменьшается до значения в установившемся режиме. С этого момента увеличение выходного напряжения прекращается - устройство переходит в режим стабилизации.
Если по каким-либо причинам (например, в резкое уменьшение тока нагрузки) выходное напряжение увеличивается, то единичный выходной импульс триггера становится еще короче и выходное напряжение стабилизатора снова приближается к своему установившемуся значению.
Выход узла ШИ регулирования подключен ко входу усилителя импульсов на транзисторах VT2, VT3, представляющему собой управляемый генератор стабильного тока с трансформаторным выходом. Ток через вторичную обмотку трансформатора Т3 определяется сопротивлением резистора R11 и равен примерно 1,5 А. Управление ключевым транзистором VT4 от генератора тока позволяет форсировать процессы его переключения и получить малое значение напряжения насыщения.
При единичном состоянии триггера DD3.1 генератор тока обеспечивает постоянство тока через первичную обмотку трансформатора Т3 в течение выходного импульса узла регулирования. В первичной обмотке появляется линейно увеличивающаяся составляющая тока намагничивания. Индуктивность первичной обмотки трансформатора Т3 выбрана такой, чтобы максимальное значение тока намагничивания не превышало 10...15 % от тока коллектора транзистора VT2. Таким образом, ток базы транзистора VT4, пока он открыт, остается практически неизменным.
После того, как транзистор VT2 закроется, трансформатор Т3 отключается от источника питания и составляющая тока намагничивания начинает уменьшаться, протекая по цепи VD8VD9R15. Это приводит к изменению полярности напряжения на обеих обмотках трансформатора. Подача отрицательного напряжения на эмиттерный переход транзистора VT4 обеспечивает форсированное его закрывание.

Технические характеристики
Входное напряжение, В . . . 21...34
Выходное напряжение, В . . . 5
Ток срабатывания устройства защиты, А . . . 17±1
Размах напряжения пульсации на выходе
при токе нагрузки 15 А во всем интервале
значений входного напряжения, мВ, не более . . . 30
Пределы изменения выходного напряжения
при изменении тока нагрузки от 1 до 15 А
и входного напряжения от 21 до 34 В, В . . . 4,9...5,1
Рабочая частота, кГц . . . 30

 
http://www.radio-portal.ru/https://radio-portal.su/cache/5202_1_images_stories_pictures_thumb_medium600_0.png

http://www.radio-portal.ru/images/stories/pictures/5202_1.png

 

Когда транзистор VT4 закрыт, к дросселю L3 приложена разность входного и выходного напряжения, и ток через него увеличивается. После закрывания транзистора VT4 ток в дросселе не может прерваться мгновенно, поэтому открываются диоды VD11, VD12, образуя цепь для протекания тока. При указанном значении индуктивности амплитуда. переменной составляющей тока дросселя (а следовательно, и конденсаторов С10-С13 фильтра) равна 3 А при среднем значении тока до 15 А. Для того, чтобы уменьшить пульсации выходного напряжения, необходимо набирать фильтр параллельным соединением нескольких конденсаторов. Для лучшего сглаживания установлен дополнительный фильтр L4C14, уменьшающий амплитуду пульсации в 3...5 раз и препятствующий проникновению высокочастотных помех в нагрузку.

Для уменьшения динамических потерь в транзисторе VT4 при его переключении в устройство введены дополнительные элементы Т2, VD5, С7, L2 и цепь C9R16VD10. В каждом периоде работы устройства при открывании транзистора VT4 напряжение его насыщения достигает своего установившегося значения за несколько десятков наносекунд. Диод VD10 при этом закрыт и не влияет на скорость уменьшения этого напряжения. Ток коллектора транзистора VT4 увеличивается со скоростью, определяемой индуктивностью первичной обмотки трансформатора Т2 и достигает значения 12...15 А за время около 2 мкс. Таким образом, увеличение коллекторного тока транзистора VT4 происходит при малом значении его напряжения насыщения, что резко уменьшает динамические потери в транзисторе при его открывании. По истечении указанного времени магнитопровод трансформатора Т2 насыщается, напряжение на его обмотках уменьшается до нуля и до конца периода он не оказывает влияния на работу стабилизатора.
При закрывании транзистора VT4 напряжение на обмотках трансформатора Т2 меняет знак, открывается диод VD5 и энергия, запасенная в трансформаторе, преобразуется в заряд конденсатора С7. Одновременно с этим начинает увеличиваться напряжение между коллектором и эмиттером транзистора VT4, открывается диод VD10, подключая параллельно этому транзистору конденсатор С9. Теперь скорость увеличения напряжения на транзисторе определяет емкость конденсатора С9 (время увеличения - около 1 мкс). При очередном открывании транзистора VT4 этот конденсатор разряжается через резистор R16.
сновным звеном системы защиты является датчик тока нагрузки, выполненный на трансформаторе тока Т1. Единичным сигналом тактового генератора триггер устройства защиты, собранный на элементах DD2.3, DD2.4, обнуляется (уровень 0 на выходе элемента DD2.4). В это время транзистор VT4 закрыт. При его открывании на верхний вход элемента DD2.3 поступает линейно увеличивающееся напряжение. При токе нагрузки меньшем максимального значения напряжение на верхнем входе элемента DD2.3 не превышает порогового. В случае возникновения перегрузки ток коллектора транзистора VT4 достигает значения, при котором напряжение на верхнем входе элемента DD2.3 превышает его пороговое значение и триггер защиты переключается в единичное состояние (уровень 1 на выходе элемента DD2.4). При этом триггер DD3.1 устанавливается в нулевое состояние и транзистор VT4 закрывается. Стабилизатор переходит в режим ограничения тока нагрузки, его выходное напряжение уменьшается.
Этот режим не опасен для стабилизатора (ток коллектора транзистора VT4 ограничен), но может быть неприемлем для нагрузки. Для того, чтобы обезопасить нагрузку, включается вторая ступень системы защиты, состоящая из интегрирующей цепи VD2R6R10C6 и одновибратора на триггере DD3.2. Исходное состояние триггера DD3.2 - нулевое. Если перегрузка продолжается более 70...150 мс (в зависимости от ее кратности), напряжение на конденсаторе С6, увеличиваясь, достигает порогового значения и триггер DD3.2 переключается в единичное состояние на время около 2 с. Единичное состояние на нижнем входе элемента DD2.2 запрещает подачу синхроимпульсов на триггер DD3.1 и стабилизатор выключен. За это время конденсатор С6 разряжается через резистор R10, а конденсатор С8 - заряжается через резистор R13 до порогового значения и триггер DD3.2 устанавливается в первоначальное состояние. Стабилизатор автоматически запускается. Если перегрузка не устранена, процесс повторяется.
Ток срабатывания системы защиты можно изменять в широких пределах, подбирая резистор R7. При увеличении сопротивления ток будет пропорционально уменьшаться.
Высокую стабильность выходного напряжения обеспечивает питание узла ШИ регулирования от параметрического стабилизатора на стабилитроне VD4, питаемом от генератора тока VT1 VD1.
На рис.2 показана графически зависимость КПД стабилизатора от тока нагрузки при трех характерных значениях напряжения питания. Легко видеть, что КПД имеет максимум в интервале тока нагрузки 3...8 А. Если стабилизатор предполагается использовать при токе нагрузки в пределах 10...15 А, то целесообразно сместить максимум его КПД в сторону большего тока заменой резистора R11 на другой, сопротивлением 2,2...2,4 Ом.
На рис.3 изображена нагрузочная характеристика стабилизатора. График показывает, что стабильность выходного напряжения весьма высока (5 В ±2 %) и достаточна для питания устройств, выполненных на цифровых микросхемах любой серии.
Трансформаторы Т1-Т3 и дроссели L2, L4 выполнены на кольцевых магнитопроводах типоразмера К20х12х6 из феррита 2000НМ1. В магнитопроводе трансформатора Т2 и дросселей L2, L4 необходимо предусмотреть немагнитный зазор шириной 0.4 мм. Для этого кольцо лучше всего распилить пополам алмазным диском или, в крайнем случае, расколоть, а затем снова собрать, заложив в оба распила по прокладке толщиной 0,2 мм из нескольких слоев тонкой бумаги, обильно пропитанной эпоксидной смолой. После соединения половин магнитопровода их туго сжимают и дают смоле затвердеть. Излишки затвердевшей смолы удаляют напильником. Дроссель L4 намотан на двух таких же кольцах, сложенных вместе так, чтобы их зазоры обязательно совпадали.
Обмотка 1 трансформатора Т1 представляет собой один виток многожильного провода сечением не менее 1 мм2. Поскольку очень важно обеспечить максимальную электромагнитную связь между обмотками, этот виток нельзя наматывать по кратчайшему расстоянию между его началом и концом. Его укладывают на магнитопровод (обмотанный несколькими слоями лакоткани) так, чтобы начало и конец витка находились рядом на внешней стороне цилиндра кольца, а середина прилегала к наиболее удаленной от начала и конца точке на внутренней поверхности отверстия кольца.
Обмотка II содержит 200 витков провода ПЭВ-1 0,1. Обмотка 1 трансформатора Т2 содержит 7 витков многожильного провода сечением не менее 1 мм2, обмотка II - 7 витков провода ПЭВ-1 0,68. Обмотка I трансформатора Т3 содержит 120 витков провода ПЭВ-1 0,25, а обмотка II - 10 витков провода ПЭВ-1 0,68.
Дроссель L1 - Д-0,1. Можно применить и другой с допустимым током не менее 30 мА. Обмотка дроссели L2 содержит 35 витков провода ПЭВ-1 0,68 мм, а дросселя L4 - 5 витков многожильного провода сечением не менее 2 мм2. Дроссель L3 выполнен в броневом магнитопроводе Б48 из феррита 2000НМ1 с зазором 0,6 мм в среднем стержне. Его обмотка содержит 10 витков, выполненных жгутом из 25 проводов ПЭВ-1 0,44. Активное сопротивление обмотки около 4 МОм. Среднее значение тока, протекающего через дроссель L2, равно 2 A, L3, L4 - 18 А.
Используемые в устройстве микросхемы можно заменить на аналогичные из серии К564.
Конденсаторы С7 С10-С14 - К50- 24. Вместо них можно применить К50-27, К50-29, К50-31, К52-1. Конденсаторы С8, С4 - К50-6, остальные - из серии КМ. Постоянные резисторы - МЛТ, подстроечный резистор R18 - СП14-1.
При испытании устройства транзисторы VT2, VT4, диоды VD5, VD11. VD13 были установлены на общий пластинчатый теплоотвод из дюралюминия толщиной 5 мм и площадью поверхности 400 см2. Во время длительной работы стабилизатора с током нагрузки 15 А при вертикальном расположении теплоотвода его температура не превышала 50 °С.

Обсудить эту статью на форуме (0 ответов).
Вся информация, предоставленная на данном ресурсе разрешена к ознакомлению детям школьного возраста. Все практическое использование может быть связана с повышенной электрической опасностью и разрешено детям только под присмотром взрослых.