Экономичный стабилизатор переменного напряжения

Экономичный стабилизатор переменного напряжения предназначен для питания от сети электронной бытовой ппаратуры, потребляемая мощность которой не превышает 500 Вт при сетевом напряжении 220 В и 270 Вт при 127 В. Стабилизатор не только автоматически поддерживает выходное напряжение в пределах установленных допусков (+5... -10 %) от номинального при изменении напряжения сети от 175 до 255 В, но и автоматически включается при включении и выключается при выключении нагрузки. Стабилизатор не искажает формы кривой выходного напряжения, почти не создает помех и шума и не нагревается при работе на номинальную нагрузку. КПД стабилизатора 96 %, т. е. почти такой же, как у обычного трансформатора.

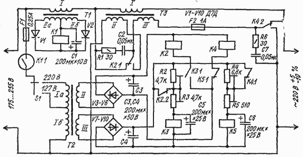
Основой стабилизатора является трансформатор вольтдобавки Т1, одна из обмоток которого постоянно включена последовательно с нагрузкой, а две другие автоматически переклкнаются в зависимости от напряжения сети.

Автомат включения и выключения собран на трансформаторе Т1 и герконовом реле К1. Реле питается от вторичной обмотки трансформатора через выпрямитель на диодах VI и V2. При включении нагрузки мощностью более 50 Вт появляется ток через трансформатор Т1, реле К1 включается и своими контактами K1.1 подключает к сети трансформатор Т2, который питает через выпрямители V3-V6 и V7-V10 два реле-регулятора, собранных на электромагнитных реле К2, К4 и КЗ, К5. Подстроечные резисторы R2-R5 необходимы для настройки реле-регуляторов на срабатывание в определенных допусках изменяющегося напряжения сети. Контакты К2.1 и К4.2 переключают обмотки трансформатора вольтдобавки Т1, контакты реле КЗ и К5 служат для переключения питания на реле К2 и К4.

Стабилизатор помещен в металлический кожух с отверстиями для доступа к шлицам подстроечных резисторов. Отверстий для вентиляции не требуется. На кожухе устанавливают розетку для включения нагрузки, колодки предохранителей и переключатель напряжения сети.

Данные трансформаторов приведены в таблице. 

Обозначение
Магнитопровод
Обмотка
Число витков
Диаметр провода ПЭВ-2, мм
Т1
Ш8х8
I
20
1,2
II
2х350
0,18
Т2
Ш16х18
2050
0,07
2100
0,07
II
820
0,25
III
210
0,15
Т3
Ш32х40
I
116
1,2
II
220
0,31
III
800
0,31

Трансформатор Т1 - выходной от приемника "Спидола"; первичная обмотка с отводом использована как вторичная. Межобмоточная изоляция - четыре слоя лакоткани. У трансформатора Т1 обмотку I наматывают последней. Реле КЗ, К5 - типа РЭС-49 ( паспорт РС4 569.423), К2, К4 - РЭН-32 (паспорт РФ4.519.024), К1 - РЭС-55А (паспорт РС4.559 610).

Перед включением стабилизатора в сеть следует проверить его следующим образом: при разомкнутых выводах нагрузки сопротивление со стороны включения в сеть должно быть 2 Мом. При коротком замьгкании на выходе стабилизатора сопротивление между штырьками сетевой вилки стабилизатора должно быть 1...2 Ом.

Налаживание стабилизатора сводится к установке построечных резисторов R2- R5 на требуемый диапазон стабилизации. Настройку следует производить при включенной нагрузке не менее 300 Вт.

Обсудить эту статью на форуме (0 ответов).
Вся информация, предоставленная на данном ресурсе разрешена к ознакомлению детям школьного возраста. Все практическое использование может быть связана с повышенной электрической опасностью и разрешено детям только под присмотром взрослых.