Источники питания на основе ВЧ импульсного преобразователя

Достаточно часто при конструировании устройств возникают жесткие требования к размерам источника питания. В этом случае единственным выходом является применение ИП на основе высоковольтных высокочастотных импульсных преобразователей. которые подключаются к сети ~220 В без применения габаритного низкочастотного понижающего трансформатора и могут обеспечить большую мощность при малых размерах и теплоотдаче.

Структурная схема типового импульсного преобразователя с питанием от промышленной сети представлена на рис 34-4.

Входной фильтр предназначен для предотвращения проникновения импульсных помех в сеть. Силовые ключи обеспечивают подачу импульсов высокого напряжения на первичную обмотку высокочастотного трансформатора (могут применяться одно- идвухтактные схемы). Частота и длительность импульсов задаются управляемым генератором (обычно применяется управление шириной импульсов, реже — частотой). В отличие от трансформаторов синусоидального сигнала низкой частоты, в импульсных ИП применяются широкополосные устройства, обеспечивающие эффективную передачу мощности на сигналах с быстрыми фронтами. Это накладывает существенные требования на тип применяемого магнитопровода и конструкцию трансформатора. С другой стороны, с увеличением частоты требуемые размеры трансформатора (с сохранением передаваемой мощности) уменьшаются (современные материалы позволяют строить мощные трансформаторы с приемлемым КПД на частоты до 100-400 кГц). Особенностью выходного выпрямителя является применение в нем не обычных силовых диодов, а быстродействующих диодов Шоттки, что обусловлено высокой частотой выпрямляемого напряжения. Выходной фильтр сглаживает пульсации выходного напряжения. Напряжение обратной связи сравнивается с опорным напряжением и затем управляет генератором. Обратите внимание на наличие гальванической развязки в цепи обратной связи, что необходимо, если мы хотим обеспечить развязку выходного напряжения с сетью.

При изготовлении таких ИП возникают серьезные требования к применяемым компонентам (что повышает их стоимость по сравнению с традиционными). Во-первых, это касается рабочего напряжения диодов выпрямителя, конденсаторов фильтра и ключевых транзисторов, которое не должно быть менее 350 В во избежание пробоев. Во-вторых, должны применяться высокочастотные ключевые транзисторы (рабочая частота 20-100 кГц) и специальные керамические конденсаторы (обычные оксидные электролиты на высоких частотах будут перегреваться ввиду их высокой индуктивности). И. в-третьих, частота насыщения высокочастотного трансформатора, определяемая типом применяемого магнитопро вода (как правило, используются тороидальные сердечники) должна быть значительно выше рабочей частоты преобразователя.

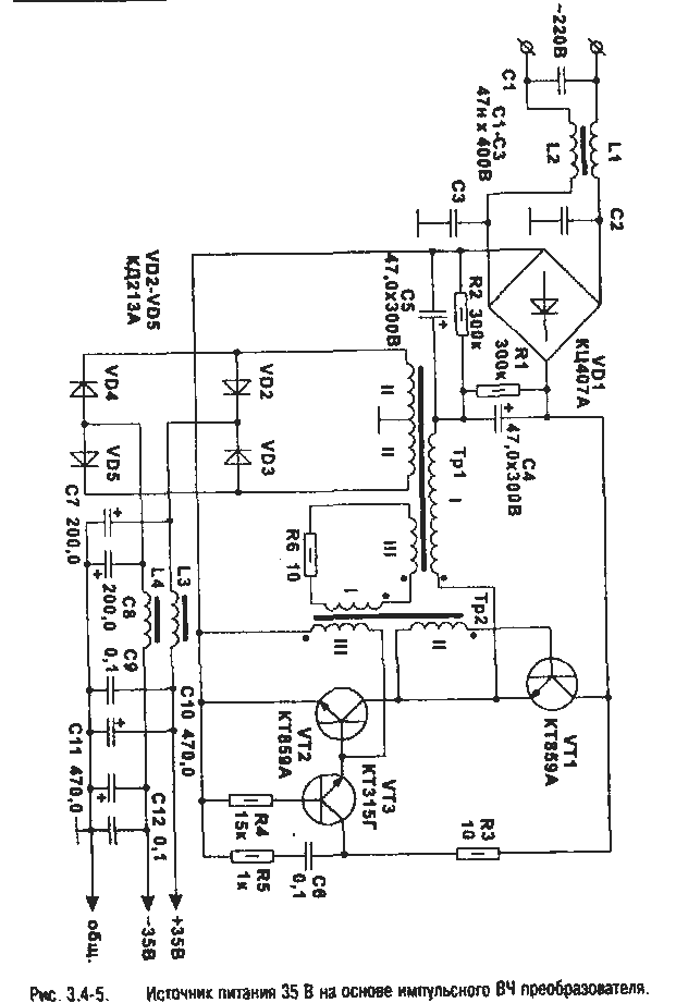
На рис. 3.4-5 приведена принципиальная схема классического ИП на основе высокочастотного преобразователя. Фильтр, состоящий из емкостей С1, С2, СЗ и дросселей L1, L2, служит для зашиты питающей сети от высокочастотных помех со стороны преобразователя. Генератор построен по автоколебательной схеме и совмещен с ключевым каскадом. Ключевые транзисторы VT1 и VT2 работают в противофазе, открываясь и закрываясь по очереди. Запуск генератора и надежную работу обеспечивает транзистор VT3, работающий в режиме лавинного пробоя. При нарастании напряжения на С6 через R3 транзистор открывается и конденсатор разряжается на базу VT2, запуская работу генератора. Напряжение обратной связи снимается с дополнительной (III) обмотки силового трансформатора Tpl.

Транзисторы VT1. VT2 устанавливают на пластинчатые радиаторы не менее 100 см^2. Диоды VD2-VD5 с барьером Шоттки ставятся на небольшой радиатор 5 см^2. Данные дросселей и трансформаторов:L1-1. L2 наматывают на кольцах из феррита 2000НМ К12х8х3 в два провода проводом ПЭЛШО 0,25: 20 витков. ТР1 — на двух кольцах, сложенных вместе, феррит 2000НН КЗ 1х18.5х7;

обмотка 1 — 82 витка проводом ПЭВ-2 0,5: обмотка II — 25+25 витков проводом ПЭВ-2 1,0: обмотка III — 2 витка проводом ПЭВ-2 0.3. ТР2 наматывают на кольце из феррита 2000НН К10х6х5. все обмотки выполнены проводом ПЭВ-2 0.3: обмотка 1 — 10 витков:

обмотки II и III — по 6 витков, обе обмотки (II и III) намотаны так, что занимают на кольце по 50% площади не касаясь и не перекрывая друг друга, обмотка I намотана равномерно по всему кольцу и изолирована слоем лакоткани. Катушки фильтра выпрямителя L3, L4 наматывают на феррите 2000НМ К 12х8х3 проводом ПЭВ-2 1,0 , количество витков — 30. В качестве ключевых транзисторов VT1, VT2 могут применяться КТ809А. КТ812, КТ841.

Номиналы элементов и намоточные данные трансформаторов приведены для выходного напряжения 35 В. В случае, когда требуются иные рабочие значения параметров, следует соответству ющим образом изменить количество витков в обмотке 2 Тр1.

Описанная схема имеет существенные недостатки, обусловленные стремлением предельно уменьшить количество применяемых компонентов Это и низкий "уровень стабилизации выходного напряжения, и нестабильная ненадежная работа, и низкий выходной ток. Однако она вполне пригодна для питания простейших конструкций разной мощности (при применении соответствующих компонентов), таких как: калькуляторы. АОНы. осветительные приборы и т.п.


Еще одна схема ИП на основе высокочастотного импульсного преобразователя приведена на рис. 3.4-6. Основным отличием этой схемы от стандартной структуры, представленной на рис. 3 .4-4 является отсутствие цепи обратной связи. В связи с этим, стабильность напряжения на выходных обмотках ВЧ трансформатора Тр2 достаточно низкая и требуется применение вторичных стабилизаторов (в схеме используются универсальные интегральные стабилизаторы на ИС серии КР142).

Обсудить эту статью на форуме (0 ответов).
Вся информация, предоставленная на данном ресурсе разрешена к ознакомлению детям школьного возраста. Все практическое использование может быть связана с повышенной электрической опасностью и разрешено детям только под присмотром взрослых.