Генераторы на КМОП микросхемах популярны у радиолюбителей. Их используют при конструировании измерительных приборов, генераторов звуковой частоты, пробников для проверки исправности радиоэлементов и каскадов радиоаппаратуры. В предлагаемой статье описаны три варианта подобных генераторов, которые могут быть выполнены в виде пробников для проверки и налаживания низкочастотных и высокочастотных узлов разнообразной аппаратуры.
Обычно при конструировании пробников и калибраторов используют генераторы коротких импульсов, вырабатывающие сигнал с широким и равномерным спектром. Такой сигнал позволяет быстро проверять каскады радиоаппаратуры, как низкочастотные (НЧ), так и высокочастотные (ВЧ). Причем чем меньше длительность импульсов, тем лучше - спектр получается шире и равномернее.
Как правило, подобные генераторы состоят из двух основных узлов: собственно
генератор прямоугольных импульсов и формирователь коротких импульсов. Между тем
можно обойтись без специального формирователя, поскольку он уже имеется в
логическом элементе микросхемы структуры КМОП. 
Рассмотрим для примера схему пробника, приведенную на рис. 1. Это известный RC-генератор, работающий в данном случае на частоте около 1000 Гц (она зависит от номиналов деталей R1, С1). Низкочастотный сигнал прямоугольной формы поступает с выхода элемента DD1.2 (вывод 4) через цепочку R2C3 на переменный резистор R4 - им плавно регулируют амплитуду сигнала, подаваемого на проверяемый узел.
Выход же высокочастотного сигнала (коротких импульсов) выполнен несколько необычно - сигнал снимают с переменного резистора R3, включенного в цепь питания микросхемы. Перемещением движка этого резистора плавно регулируют уровень выходного высокочастотного сигнала.
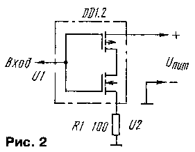
Рассмотрим принцип работы такого формирователя по упрощенной схеме логического элемента структуры КМОП (рис. 2).
Его основа - два последовательно включенных
полевых транзистора с изолированным затвором и разным типом проводимости
каналов. Если последовательно с транзисторами включить резистор R1, а на вход
элемента подавать прямоугольные импульсы U1, произойдет следующее (рис. 3).
Из-за того, что длительность фронта импульса не может быть бесконечно малой, а
также из-за инерционности транзисторов, в момент действия фронта наступит такой
момент, когда оба транзистора окажутся в открытом состоянии. Через них потечет
так называемый сквозной ток, значение которого может составлять от единиц до
десятков миллиампер в зависимости от типа микросхемы и напряжения источника
питания. На резисторе будут формироваться короткие импульсы напряжения U2.
Причем как в момент действия фронта, так и спада.
Иначе говоря, произойдет удвоение частоты исходных импульсов.
Сопротивление резистора не должно быть большим
во избежание нарушения режима работы элементов микросхемы. Это означает, что к
высокочастотному выходу можно подключать низкоомную нагрузку сопротивлением
50...75 Ом.
У рассмотренного генератора максимальная амплитуда импульсов на высокочастотном выходе составляет 100...150мВ, а потребляемый от источника питания ток не превышает 1,6 мА. Генератор рассчитан на использование при проверке усилителей ЗЧ, трехпрограммных громкоговорителей, радиоприемников на диапазонах ДВ и СВ.
Чтобы проверять узлы KB и УКВ приемников и калибровать их шкалы, достаточно собрать кварцевый генератор по схеме, приведенной на рис. 4. Он построен по описанному выше принципу, но генератор работает на частоте 1 МГц. Короткие импульсы высокочастотного напряжения формируются на резисторе R3 и подаются через конденсатор С3 на проверяемые каскады. Зависимость амплитуды гармоник от частоты показана на рис. 5 - она уменьшается с 20 мВ на частоте 1 МГц до 12 мкВ на частоте 80 МГц, что в большинстве случаев достаточно для выполнения стоящей перед пробником задачи. Точно частоту генерации устанавливают подбором конденсаторов С1 и С2. От источника питания генератор потребляет ток около 5 мА.


На одной КМОП микросхеме нетрудно собрать комбинированный генератор - сочетание двух описанных конструкций (рис. 6). Он также содержит два выхода, а режимы работы устанавливают переключателем SA1.
В нижнем по схеме положении подвижного контакта переключателя работает только генератор НЧ, поэтому на НЧ выходе будут прямоугольные импульсы, а на выходе ВЧ - короткие импульсы с шириной спектра до 1,5 МГц. В среднем же положении работает только кварцевый генератор и на выходе ВЧ будет сигнал с шириной спектра до 80 МГц. В то же время на выходе НЧ сигнал вообще отсутствует. Если подвижной контакт переключателя переместить в верхнее положение - в работу включатся оба генератора, причем кварцевый станет модулироваться сигналом низкочастотного генератора.
При высокой добротности кварцевого резонатора генератор ВЧ может плохо модулироваться сигналом генератора НЧ. В этом случае нужно отсоединить вывод 5 элемента DD1.3 от переключателя и соединить с выводом 6, а к переключателю подвести провод от вывода 8 (его отсоединяют от выводов 4 и 9 и резистора R5).
Конструкция всех генераторов-пробников может быть любой, но для их устойчивой работы соединения между деталями должны быть возможно короче.