Генератор ЗЧ

В радиолюбительской практике трудно обойтись без генератора звуковых частот (ЗЧ). С его помощью можно не только хорошо наладить усилитель низкой частоты, но и снять амплитудно-частотную характеристику усилителя, измерить его коэффициент усиления. Генератор ЗЧ необходим также и для модуляции электрических колебаний высокой частоты, с помощью которых настраивают высокочастотные тракты радиоприемников.
Наиболее интересен для массового повторения так называемый RC-генератор, задающий узел которого выполнен по схеме моста Вина. Такой генератор прост в изготовлении, надежен в эксплуатации.
Для удобства работы с генератором диапазон частот генерируемых им колебаний разбивают на несколько поддиапазонов. Частоту колебаний внутри поддиапазона регулируют с помощью сдвоенных переменных резисторов специальной конструкции. Однако приобрести такой резистор непросто, а сделать аналогичный из двух переменных довольно сложно, так как их характеристики должны быть идентичны.
Вместо сдвоенных резисторов можно применить блок сдвоенных конденсаторов переменной емкости, которые используются в радиоприемниках для настройки на станцию. Технические характеристики генератора от такой замены не станут хуже, а количество конденсаторов в приборе уменьшится благодаря тому, что RC-цепочки обратной связи задающего узла будут состоять из двух переменных конденсаторов и подключаемых к ним при переключении поддиапазонов постоянных резисторов.

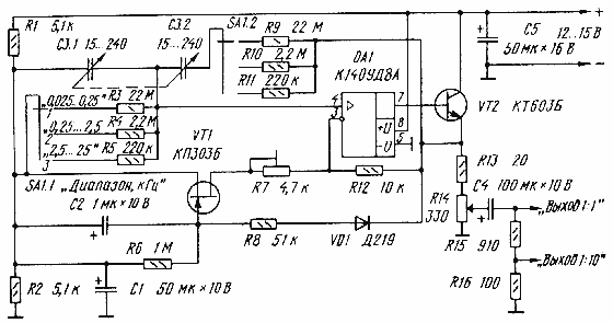
Рис. 1Принципиальная схема генератора показана на рисунке. Генератор вырабатывает электрические колебания синусоидальной формы частотой от 25 Гц до 25 кГц. Весь диапазон разбит на три поддиапазона: 25...250 Гц; 0,25...2,5 кГц; 2,5...25 кГц. Максимальное напряжение сигнала на выходе прибора - 1,5 В. Коэффициент нелинейных искажений формы сигнала - около 0,3%.
Задающий узел генератора выполнен на операционном усилителе DA1, с выхода которого сигнал поступает на вход эмиттерного повторителя на транзисторе VT2.
В генераторе мост Вина применяется в цепи обратной связи операционного усилителя. Плечи моста образуют цепь положительной обратной связи, которая состоит из последовательного (С3.2, R9) и параллельного (С3.1, R3) RC-контуров, и цепь отрицательной обратной связи (ООС) - детали VT1, R7, R12.
Амплитуду колебаний на выходе усилителя регулируют подстроенным резистором R7. Транзистор VT1, включенный по схеме электрически регулируемого резистора, стабилизирует напряжение на выходе генератора. Это происходит следующим образом.
При изменении амплитуды выходного сигнала напряжение с выхода эмиттерного повторителя через цепочку VD1R8 поступает на затвор полевого транзистора VT1 и регулирует сопротивление канала исток-сток транзистора. Изменение сопротивления канала приводит к изменению глубины ООС и, как следствие, к изменению коэффициента усиления усилителя DA1. Например, при увеличении амплитуды сигнала напряжение на затворе возрастет. Транзистор VT1 начнет закрываться, сопротивление его канала увеличится и увеличится коэффициент ООС: напряжение на выходе генератора уменьшится.
При уменьшении амплитуды сигнала напряжение на затворе транзистора тоже уменьшится, что приведет к снижению значения ООС и росту амплитуды сигнала.
Напряжение на выходе генератора регулируют плавно переменным резистором R14. Максимальное напряжение снимают с цепочки R15R16 ("Выход 1:1"), а уменьшенное в 10 раз - с резистора R16 ("Выход 1:10").
При подключении к генератору нагрузки необходимо, чтобы ее сопротивление было не менее 1 кОм.
Детали генератора, кроме блока переменных конденсаторов, переключателя SA1 и переменного резистора R14, монтируют на печатной плате из фольгированного текстолита.
В приборе можно применить транзисторы КП303В (VT1), КТ603А, КТ603В, КТ603Г, КТ608А, КТ608Б, КТ815А - КТ815Г (VT2), диоды Д220, Д223, КД521А -КД521Д, КД522А, КД522Б.
Блок переменных конденсаторов может быть от любого радиоприемника, в частности от "Селги". Если минимальное значение емкости переменного конденсатора будет меньше 15 пФ, необходимо установить дополнительные конденсаторы емкостью 10...15 пФ. Их подключают параллельно каждой секции конденсатора С3. Ручка, надеваемая на блок конденсаторов, должна быть из изоляционного материала.
Резисторы R3, R9 (МЛТ) составлены из нескольких соединенных последовательно резисторов меньшего номинала.
Наладку генератора начинают с того, что конденсатор С3 устанавливают в среднее положение, а переменный резистор R14 - в верхнее по схеме положение.
Регулировкой подстроенного резистора R7 добиваются, чтобы напряжение сигнала на выходе генератора (гнездо "Выход 1:1") было примерно 1...1.5 В. Напряжение контролируют с помощью осциллографа, который подключают к гнезду "Выход 1:1". При регулировке напряжения необходимо следить за тем, чтобы нелинейные искажения наблюдаемого на экране осциллографа сигнала были минимальными.
При переключении с одного поддиапазона на другой напряжение на выходе генератора должно быть стабильным.
После этого приступают к градуировке шкалы генератора. Для этого переключатель SA1 переводят на первый поддиапазон и к гнезду "Выход 1:1" подключают частотомер либо осциллограф. С помощью этих приборов контролируют частоту колебаний.
Переменный конденсатор переводят в положение, в котором значение его емкости максимально (желательно, чтобы это было крайнее левое положение). При этом частота генерируемых колебаний должна равняться 25 Гц.
Если действительное значение частоты, контролируемой частотомером или осциллографом, не равно 25 Гц, необходимо либо регулировкой переменного конденсатора С3 (в случае, если частота колебаний меньше 25 Гц), либо подборкой резистора R3 (при частоте колебаний больше 25 Гц) добиться, чтобы значение генерируемых колебаний соответствовало заданному.
Положение ручки переменного конденсатора, при котором частота равна 25 Гц, отмечают на шкале прибора.
Затем уменьшают емкость конденсатора С3 до значения, при котором частота колебаний равна 35 Гц. Эту точку также отмечают на шкале прибора. Снова изменяют емкость конденсатора С3 до значения, при котором частота равна 45 Гц. И отмечают эту точку. И так - до значения частоты 250 Гц.
Когда шкала первого поддиапазона будет отградуирована, переключатель SA1 переводят на второй поддиапазон и приступают к градуировке шкалы второго поддиапазона. Для этого указатель конденсатора С3 совмещают с крайней левой отметкой шкалы и подборкой резистора R4 добиваются, чтобы значение частоты в этой точке было равно 250 Гц. Затем совмещают указатель конденсатора с крайней правой отметкой шкалы и подборкой резистора R10 добиваются, чтобы в этой точке частота колебаний равнялась 2,5 кГц.
Аналогично подборкой резисторов R5, R11 калибруют шкалу третьего поддиапазона.
Питают генератор от стабилизированного источника постоянного напряжения 12...15 В, рассчитанного на ток нагрузки 20...30 мА.


И.НЕЧАЕВ, г.Курск, Радио №4, 1994 г., стр.28

Обсудить эту статью на форуме (0 ответов).
Вся информация, предоставленная на данном ресурсе разрешена к ознакомлению детям школьного возраста. Все практическое использование может быть связана с повышенной электрической опасностью и разрешено детям только под присмотром взрослых.