Умножитель частоты

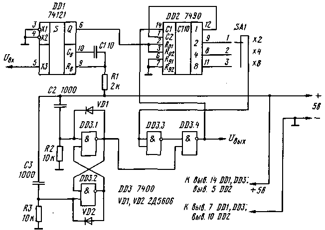
Для любителей цифровой техники может представить интерес устройство умножения частоты, на выходе которого число импульсов в некоторое целое число раз больше, чем подано на вход. Схема такого устройства приведена на рисунке.

 

Входные импульсы U„ подают на формирователь, выполненный на микросхеме DD1. Независимо от продолжительности входных импульсов, на неинвертирующем выходе (вывод 6 микросхемы DD1) формируются короткие импульсы высокого уровня, длительность которых определяется параметрами элементов С1, R1 и встроенного сопротивления микросхемы (около 2 кОм). Период их следования соответствует периоду входных импульсов.

Сформированные короткие импульсы поступают на два входа (выводы 2 и 3) счетчика, выполненного на микросхеме DD2, и обнуляют его. На четырех выходах счетчика (FO - F3) устанавливается уровень лог.0, а на выходе элемента DD3.3 - уровень лог. 1 независимо от положения переключателя SA1. Уровень лог.1 на одном из входов элемента DD3.4 (продолжительность действия этого уровня совпадает с длительностью периода входных импульсов) разрешает прохождение серии импульсов по второму входу от генератора на элементах DD3.1 и DD3.2. С выхода элемента DD3.4 импульсы подаются на счетный вход микросхемы D02 (вывод 14). Выходные импульсы прекратятся, когда на вход элемента DD3.3 будет подан уровень лог.1. Это зависит от положения переключателя SA1. В положении 1 ("х2") уровень лог.1 появляется после прохождения двух импульсов по счетному входу, т. е. устройство умножает входные импульсы в два раза, в положении 2 ("х4") - в четыре раза и в положении 3 ("х8") - в восемь раз.

Для правильной работы устройства необходимо выполнение требования, чтобы частота собственного генератора хотя бы в 10 раз была выше частоты входных импульсов. При номинальных

значениях конденсаторов и резисторов, показанных на схеме, частота генератора составляет 100 кГц, а поэтому частота входных импульсов не должна превышать 10 кГц. Из-за задержки фронтов входных импульсов при работе микросхемы DD1 происходит некоторое запаздывание выходных импульсов по сравнению с входными. Задержка может быть уменьшена снижением сопротивления резистора R1, но его сопротивление нельзя уменьшать до значения менее 1 кОм.

Умножител на честота. "Хоби-електроника 1",
сборник -София, "ЕКОПРОГРЕС", 1992

Примечание редакции.
В устройстве можно использовать отечественные радиоэпеметы К155АГ1 (DD1), К155ИЕ2 (DD2), К155ЛАЗ (DD3), КД521А (VD1 и VD2).

(РАДИО N9, 1997 г.)

Обсудить эту статью на форуме (0 ответов).
Вся информация, предоставленная на данном ресурсе разрешена к ознакомлению детям школьного возраста. Все практическое использование может быть связана с повышенной электрической опасностью и разрешено детям только под присмотром взрослых.