Прибор для измерения тока лучей и восстановления кинескопов

Трудности с заменой и высокая стоимость цветных и черно-белых кинескопов заставляют искать способы их восстановления, особенно после длительной работы, и продления срока их службы. В последнее время решению этой проблемы уделяют большое внимание [1-3]. Предлагаемый для повторения прибор также предназначен для измерения токов лучей цветных и черно-белых кинескопов и восстановления их нормальной работоспособности при ремонте и налаживании телевизоров. Ведь известно, что операции по налаживанию цветного телевизора могут оказаться напрасными, если токи лучей электронных прожекторов кинескопа значительно отличаются. Достоинство прибора заключается в возможности корректировки тока луча любого электронного прожектора непосредственно после его измерения. Максимальный измеряемый прибором ток эмиссии катодов равен 1 мА.

 

http://www.radio-portal.ru/https://radio-portal.su/cache/restore_kineskope1_images_stories_pictures_thumb_medium600_0.png

http://www.radio-portal.ru/images/stories/pictures/restore_kineskope1.png

 

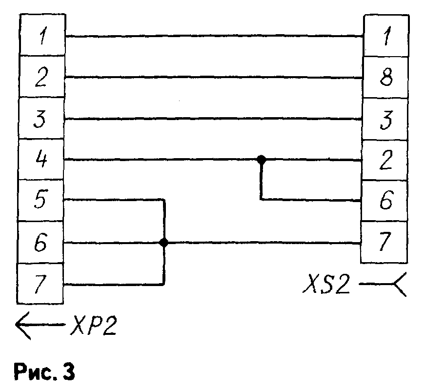
Принципиальная схема прибора изображена на рис.1. Проверяемый кинескоп подключают к прибору через соединительный кабель с соответствующей панелью и штепсельной частью разъема, вставляемой в гнездовую часть Х51. Схема распайки соединительного кабеля для кинескопов 61ЛКЗЦ, 61ЛК4Ц показана на рис.2, а для кинескопов 47ЛК2Б, 50ЛК2Б, 61ЛК2Б - на рис.3.

 

http://www.radio-portal.ru/https://radio-portal.su/cache/restore_kineskope2_images_stories_pictures_thumb_medium600_0.png

http://www.radio-portal.ru/images/stories/pictures/restore_kineskope2.png

 

При включении прибора в сеть и подключенном кинескопе на его цепь накала с обмотки II трансформатора Т1 поступает переменное напряжение в пределах 6,3...7 В. Одновременно с двуполупериодного выпрямителя на диодах VD1, VD2 через ограничительный резистор R1 заряжается конденсатор С1 до напряжения 350...400 В. При ненажатой кнопке SB1 (режим «Измерение») через ее контакты, микроамперметр РА1, переключатель SA1 и соединительный кабель это напряжение приложено между ускоряющим электродом и одним из катодов кинескопа. Микроамперметр РА1 показываетток эмиссии катода, выбранного переключателем SA1.

 

 

Обсудить эту статью на форуме (0 ответов).
Вся информация, предоставленная на данном ресурсе разрешена к ознакомлению детям школьного возраста. Все практическое использование может быть связана с повышенной электрической опасностью и разрешено детям только под присмотром взрослых.