Предлагаемый вниманию читателей радиомикрофон представляет собой миниатюрный передатчик, работающий в диапазоне ультракоротких волн 65,8...74 МГц. С его помощью можно воспроизводить любые звуковые сигналы, находясь на расстоянии до 25 м от УКВ радиоприемника.
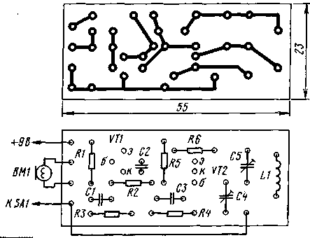
Принципиальная схема радиомикрофона приведена на рис. 1. Он собран всего на двух транзисторах: VT1 выполняет функции микрофонного усилителя, a VT2 - генератора и модулятора радиочастоты.
Катушка колебательного контура генератора L1C4 служит также и антенной передатчика.

Детали радиоми
крофона смонтированы на печатной
плате из фольгированного стеклотекстолита (рис. 2). Для монтажа использованы постоянные резисторы МЛТ-0,125, конденсаторы постоянной емкости - КМ, а подстроечные - КПК.
Вместо транзисторов КТ3107А можно использовать КТ361 и КТ203 с любым буквенным индексом, а вместо П423Б -П422Б и ГТ313А. Катушка L1 -бескаркасная, она наматывается на оправке диаметром 8 мм и содержит шесть витков посеребренного провода диаметром 1 мм.
В качестве микрофона допускается использовать МД-52А, МД-66, МД-78.
Налаживание радиомикрофона сводится к его настройке на свободный от радиостанции участок УКВ диапазона подстроечными конденсаторами С4, С5.
Источник : П. СЕРЕБРЯКОВ, г. Первоуральск, Свердловской обл.