Радиомикрофон

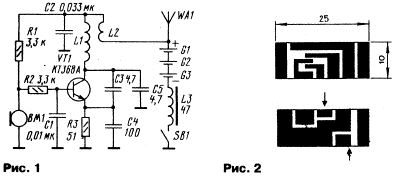
www.radio-portal.ru__r-mic1Предлагаемый радиомикрофон (рис. 1) собран по классической схеме генератора с емкостным делителем в цепи обратной связи. Для упрощения электретный микрофон В1 включен непосредственно в цепь смещения транзистора VT1, что позволило избавиться от микрофонного усилителя, разделительного конденсатора и варикапа. Роль варикапа выполняет сам генераторный транзистор VT1, рабочая точка которого смещается при изменении проводимости электретного микрофона В1. Радиус действия радиомикрофона достигает 70 м. Прием производится на бытовой УКВ ЧМ приемник. При номиналах резисторов и конденсаторов, указанных на принципиальной схеме (рис. 1), радиомикрофон работает на частоте 87,9 МГц. Частоту устанавливают растяжением или сжатием витков катушки L1. Связь с антенной www.radio-portal.ru__r-mic2трансформаторная. Антенна WA1 конструктивно выполнена вместе с контейнером для элементов питания, что увеличивает ее эффективность. Для того чтобы малое внутреннее сопротивление источника питания не шунтировало колебательный контур, в цепь питания включен дроссель L3. Печатная плата (рис. 2) выполнена из дву-сторонне фольгированного стеклотекстолита толщиной 1,5 мм, с двусторонним размещением компонентов (рис. 3). Вместо переходных отверстий на торцах платы треугольным надфилем сделаны риски (на рис. 2 указаны стрелками), чтобы уложить тонкий луженый провод, соединяющий печатные проводники. В предлагаемом устройстве желательно использовать конденсаторы СЗ, С4, С5 с малым ТКЕ . Блокировочные конденсаторы С1, С2 — керамические, любого типа. Катушка L1 — бескаркасная. Она намотана проводом ПЭB-2 0,3 на оправке (в качестве оправки использовался винт М2,5) и содержит 8 витков. Катушка L2 наматывается поверх L1 и содержит 2 витка того же провода. Дроссель L3 — готовый, например, типа ДМ-0.1 Его индуктивность некритична. Транзистор VT1 можно заменить на КТ368, КТ316 с любым буквенным индексом. Микрофон ВМ1 применен типа МКЭ-369 или аналогичный импортный (от чувствительности микрофона зависит девиация частоты сигнала). Резисторы R1 ...R3 — типа МЛТ-0,125. Их выводы удалены, торцы зачищены надфилем и облу-жены для припаивания к плате. Выключатель питания SB1 — www.radio-portal.ru__r-mic3малогабаритный движковый. Источник питания G1 —G3 — три элемента AG13 (применяются в лазерных указках) на напряжение 1,5 В. Контейнер для элементов питания выполнен из полоски жести шириной 6 мм и толщиной 0,2...0,3 мм (рис. 4). Детали контейнера укрепляются на печатной плате методом пайки на соответствующих контактных площадка (рис. 5). Вся конструкция монтируется в коргтус цилиндрического маркера В его крышке высверливается отверстие диаметром 2 мм напротив микрофона. В корпусе маркера выпиливается паз под выключатель питания.

 

Обсудить эту статью на форуме (0 ответов).
Вся информация, предоставленная на данном ресурсе разрешена к ознакомлению детям школьного возраста. Все практическое использование может быть связана с повышенной электрической опасностью и разрешено детям только под присмотром взрослых.