Десять команд по двум проводам

Описанное ниже устройство предназначено для дистанционного управления десятью нагрузками по двупроводной линии связи длиной до 10 м. Его можно использовать для управления бытовой радиоаппаратурой, игрушками, для передачи информации о состоянии датчиков различных устройств.

От подобных по назначению (например, [Л] это устройство отличается возможностью одновременной передачи нескольких команд в любой комбинации и удобством контроля за передаваемой информацией (по положению ручек или кнопок переключателей на пульте передатчика). Кроме того, передатчик не требует собственного источника питания - он питается по той же линии связи. Система сохраняет работоспособность при изменении напряжения питания от 9 до 5 В, а при использовании микросхем серии К561- от 12 до 5 В.

Принцип работы устройства заключается в следующем. Требуемые команды передают, устанавливая переключатели пульта управления в соответствующее положение. В передатчике происходит циклический опрос состояния контактуры пульта с тактовой частотой. Последовательность командных импульсов (замкнутым контактам соответствует короткий импульс, разомкнутым - удлиненный) передается по линии связи в приемник. Приемное устройство обрабатывает поступившую информацию и вырабатывает сигнал на включение соответствующих нагрузок.

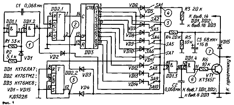
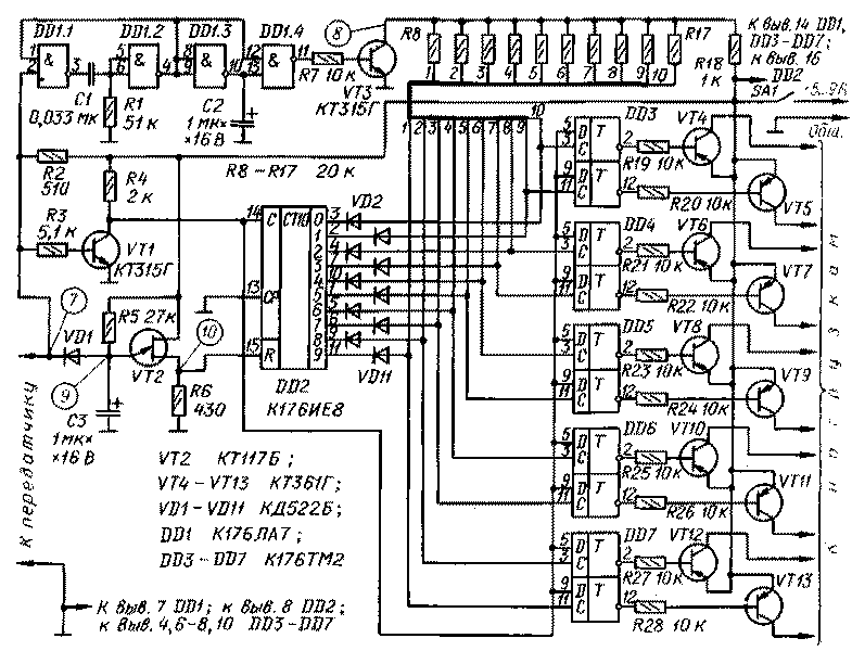
Принципиальная схема передающего устройства изображена на рис. 1, приемника- на рис. 2. Рис. 3 иллюстрирует работу всей системы.

Puc.1
Puc.1

После включения приемника тумблером SA1 напряжение питания по линии связи через диод VD15 (рис. 1) поступает к передатчику. После зарядки конденсатора СЗ до напряжения питания начинает работать генератор коротких импульсов со скважностью 5 и частотой повторения около 200 Гц, собранный на элементах DD1.1, DD1.2. Из этих импульсов (диагр. 1, рис. 3) триггер D02.1 формирует тактовые сигналы (диагр. 2), поступающие на счетчик DD3. Импульсы, последовательно появляющиеся на выходах счетчика, в зависимости от состояния (диагр. 3) командных переключателей SA1 - SA10 проходят или не проходят на верхний по схеме вход элемента DD1.3 (диагр. 4). Если контакты какого-то переключателя разомкнуты, то в соответствующий момент на этот же вход через диод VD2 поступают импульсы с выхода генератора.

Рис.2
Рис.2

На второй вход элемента DD1.3 с триггера DD2.2 приходит длинный импульс (диагр. 5) после каждого цикла опроса контактуры. На этот же вход с триггера DD2.1 поступает импульс, запрещающий прохождение информации через элемент DD1.3 в каждую первую половину времени опроса состояния соответствующего переключателя. Сформированные элементом совпадения DD1.3 пачки импульсов после инвертирования элементом DD1.4 (диагр. 6) поступают на электронный ключ на транзисторе VT1 и далее в линию (диагр. 7).

Для обеспечения селекции пачек импульсов в приемнике передатчик после каждого цикла опроса формирует паузу, в течение которой обнуляется счетчик приемника.

Узел приемника (рис. 2), собранный на элементах DD1.1, DD1.2, представляет собой ждущий мультивибратор. Его запускают спады информационных импульсов, которые

Рис. 3
Рис. 3

приходят с передатчика на вывод 2 элемента DD1.1. Цепь R1C1 определяет длительность выходных импульсов, по окончании которых элементы DD1.3, DD1.4 и транзистор VT3 формируют импульсы записи (ди-агр. 8). Информационные импульсы (диагр. 7), инвертированные транзистором VT1 (получается последовательность, аналогичная диагр. 6), поступают на вход D триггеров DD3 - OD7 (выводы 5 и 9) и на вход С счетчика DD2, который, переключаясь, разрешает прохождение импульса записи на вход С соответствующего триггера.

Короткий информационный импульс заканчивается раньше, чем формируется записывающий, и на инверсном выходе этого триггера появляется сигнал 1, если же импульс длинный, то сигнал 0. К коллектору каждого транзистора VT4 - VT13 можно подключать нагрузку с потребляемым током не более 50...100 мА.

Для установки счетчика DD2 в исходное состояние служит генератор одиночных импульсов,выполненный на однопереходном транзисторе VT2. Цепь C3R5 задает время для формирования импульса установки, которое должно быть меньше паузы между пачками (диагр. 10). После каждой информационной посылки конденсатор СЗ разряжается через диод VD) и транзистор VT1 передатчика (диагр. 9).

Используемые в устройстве микросхемы серии К176 можно заменить на соответствующие из серий К561, К564. Вместо транзисторов КТ361 Г можно применить КТ361, КТ347, КТ3107 с любым буквенным индексом. Конденсатор СЗ передатчика и С2, СЗ приемника - К53-1А, остальные - КМ, резисторы - МЛТ.

Устройство, собранное из исправных деталей, начинает работать сразу и в налаживании не нуждается.

А. КУСКОВ, г. Пермь ЛИТЕРАТУРА

Иноземцев В. Шифратор и дешифратор команд телеуправления.- Радио, 1985, № 7, с. 40, 41.

(Радио 12/89)

Обсудить эту статью на форуме (0 ответов).
Вся информация, предоставленная на данном ресурсе разрешена к ознакомлению детям школьного возраста. Все практическое использование может быть связана с повышенной электрической опасностью и разрешено детям только под присмотром взрослых.