На страницах радиолюбительской литературы уже не раз были описаны узлы дискретного радиоуправления моделями [1, 2], использующего различные способы кодирования команд. Наиболее приемлемым для многих практических случаев оказывается цифровой способ. Однако подобные системы имеют недостаточную защищенность от импульсных помех.
Как известно, источником импульсных помех могут быть не только грозовые разряды, но и исполнительные двигатели модели, а также различная аппаратура, которая используется в народном хозяйстве и медицине и работает на частотах, близких к тем, что применяют для телеуправления. Эти помехи, попадая на вход дешифратора, создают на его выходе ложный сигнал, и модель выполняет ложную команду.
Рассматриваемая ниже система управления обладает повышенной защищенностью от импульсных помех благодаря особому построению дешифратора. В ней использован числоимпуль-сный принцип подачи команд.
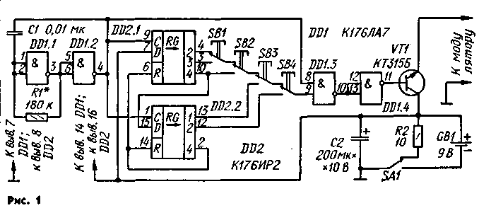
Принципиальная схеме шифратор показана на рис. 1. На логических элементах D01.1 и DD1.2 собран тактовый генератор. Его частота зависит or сопротивления резистора R1 и емкости конденсатора С1. Узел DD2.1, DD2.2 — восьмиразрядный сдвиговый регистр. Транзистор — VT1 электронный ключ.
Рассмотрим процесс формирования групп импульсов на примере команды «Стоп». При подаче напряжения питания на шифратор тактовый генератор вырабатывает последовательность прямоугольных импульсов с частотой 200 Гц и скважностью, равной двум (рис. 2, а). Эти импульсы одновременно поступают на счетный вход

регистров DD2.1 и DD2.2 и на верхний по схеме вход элемента DD1.3. Если командные кнопки SB1—SB4 находятся в положении, показанном на схеме, то на нижнем входе этого элемента будут появляться импульсы длительностью 30 мс (рис. 2, б). На выходе инвертора DD1.4 будут сформированы группы импульсов, разделенные паузой (рис. 2, в). На время действия импульса транзистор VT) открывается, и напряжение от источника питания GB1 поступает на модулятор передатчика.
При выключении питания переключателем SA1 конденсатор С2 через резистор R2 быстро разряжается. Если его не разряжать, то при выключении питания напряжение на нем станет убывать медленно и антенна передатчика некоторое время будет излучать в пространство не командные группы, а последовательность импульсов тактового генератора. Работа дешифратора будет нарушена.
Как формируются группы импульсов остальных команд, легко понять, рассмотрев таблицу.
|
Команда |
Нажата кнопка |
Число импульсов в группе |
|
Стоп |
— |
Шесть |
|
Назад |
SB1 |
Пять |
|
Вперед Влево |
SB2 SB3 |
Четыре Три |
|
Вправо |
SB4 |
Два |
Чтобы избежать одновременной подачи двух и более команд при случайном нажатии на несколько кнопок, в шифраторе использованы кнопки с переключающими контактами [З].
Для правильной работы устройства защиты от импульсов помех необходимо, чтобы при переходе от одной команды к другой кнопки SB1—SB4 хотя бы на некоторое время находились в ненажатом положении. В этом случае посла каждой переданной команды модель будет выполнять команду «Стоп».
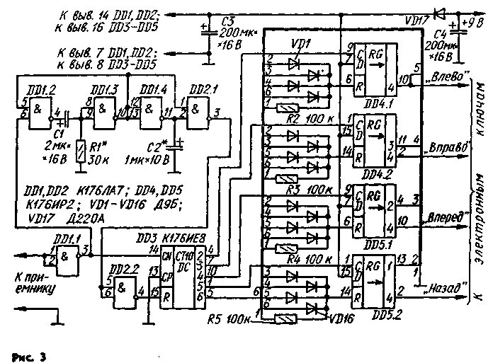
Принципиальная схема помехозащищенного дешифратора показана на рис. 3. Дешифратор состоит из узла, определяющего паузы между командными группами импульсов — одновибратора на логических элементах DD1.2, DD1.3; формирователя импульсов обнуления на элементах DD1.4, DD2.1 и инверторе DD2.2; счетчика DD3 числа импульсов команды в каждой группе и узла защиты от импульсов
помех DD4, DD5, VD1—VD16, считающего группы командных импульсов. Регистр DD4.1 подсчитывает группы импульсов команды «Влево», DD4.2 — «Вправо», DD5.1 — «Вперед» и DD5.2 — «Назад». Диод VD17 препятствует прохождению по цепи питания отрицательных импульсов помех, создаваемых двигателями модели. Конденсаторы СЗ, С4 уменьшают пульсации напряжения, возникающие при работе модели.
Рассмотрим работу дешифратора при команде «Стоп» в отсутствие помех. Допустим, что при подаче питания на дешифратор счетчик DD3 и регистры DD4, DD5 устанавливаются в исходное состояние, т. е. на выходе О счетчика DD3 будет уровень 1,

а на всех выходах регистров — уровень 0. Это состояние дешифратора считают дежурным, устанавливающимся после включения сначала питания модели, а через некоторое время — передатчика.
Если теперь на вход инвертора DD1.1 поступит первая группа импульсов команды «Стоп» (рис. 4, а), то фронт первого импульса запустит одновибратор и на его выходе (вывод 11 элемента DD1.4) появится уровень О (рис. 4, б). Но импульсы команды поступят также -и на счетный вход счетчика DD3. С каждым импульсом группы высокий уровень будет переходить с одного выхода счетчика DD3 на другой в сторону возрастания их номеров, и в первые разряды регистров DD4, DOS поочередно запишется информация со входа D.
По спаду шестого импульса группы уровень 1 с выхода 6 счетчика DD3 через соответствующие диоды поступит на установочный вход R всех регистров и подтвердит их исходное состояние. Через промежуток времени, равный 6Т (его устанавливают, подбирая резистор R1), на выходе одновибратора появится уровень 1, и на выходе узла формирования импульсов сброса (вывод 4 элемента DD2.1) сформируется короткий импульс отрицательной полярности (рис. 4, в). Длительность импульса (около 0.25 мс) устанавливают, подбирая конденсатор С2. С выхода инвертора DD2.2 импульс (рис. 4, г) поступит на вход R счетчика 003 и установит его в исходное состояние. Затем на вход дешифратора придут вторая, третья, четвертая и т. д. группы, и рассмотренный процесс будет каждый раз повторяться.
Теперь уже легко будет понять работу дешифратора при приеме команды, например, «Назад» в присутствии помех. В каждой группе этой команды содержатся по пять импульсов тактового генератора. Допустим, что на вход дешифратора поступают группы импульсов с помехами — в первой и третьей группах содержится по одному импульсу помехи, т. е, эти группы будут соответствовать группам импульсов команды «Стоп».
В этом случае по окончании первой группы регистр DD5.2 останется в исходном состоянии. В конце второй группы на выходе 1 этого регистра появится уровень 1, который через соответствующие диоды поступит на вход R остальных регистров и запретит запись информации в них по входу D. После третьей группы регистр DD5.2 возвратится в исходное состояние, а на входах R остальных регистров установится уровень 0.
По окончании четвертой группы импульсов вновь на выходе 1 регистра DD5.2 появится уровень 1. Затем после пятой, шестой и седьмой групп уровень 1 будет появляться соответственно на выходах 2, 3 и 4 регистра DD5.2. В результате сработает электронный ключ канала «Назад» и модель выполнит команду.
Если теперь на вход дешифратора поступит группа импульсов команды «Назад» с помехой, то все регистры на очень короткое время — 37,5 мс — возвратятся в исходное состояние, на выходе «Назад» появится уровень логического нуля и электронный ключ закроется и вновь откроется. Даже если исполнительный механизм модели успеет сработать на это время, то положения модели это практически не изменит.
Рассмотрим еще один пример — прохождение команды «Вперед», когда на вход дешифратора поступают группы импульсов с помехами. В каждой группе этой команды — по четыре импульса. Допустим, что только к первой группе этой команды добавился один импульс помехи. Тогда пятый импульс переведет регистры в исходное состояние и дальнейшая запись в них происходить не будет. Но так как вторая и последующие группы импульсов помех не содержат, ни на одном из выходов дешифратора управляющего напряжения команды не появится (поскольку запись в регистр DD5.1 запрещена) и тогда оператор должен будет на короткое время отпустить командную кнопку «Вперед» на передатчике и вновь на нее нажать. Иными словами, ложная команда на выход не пройдет.
В шифраторе использованы конденсаторы К50-6 (С2), КМ (О). Командные кнопки — КМ1-1. Источник питания GB1 — батарея «Крона». Конденсаторы в дешифраторе — К50-6. Диод Д220А можно заменить на Д220Б, Д311А, Д311Б.
При налаживании шифратора подбирают резистор R1 таким, чтобы при частоте тактового генератора 200 Гц скважность импульсов была бы равна двум. Подбирая резистор R1 в дешифраторе, добиваются, чтобы длительность сигнала одновибратора была равна 6Т. Потребляемый шифратором ток в режиме команды «Стоп» — не более 3 мА, а дешифратором — не более 5 мА.
Описанная выше помехозащищенная система телеуправления рассчитана на пять команд. Однако их число нетрудно увеличить. Для получения девяти команд необходимо в шифраторе использовать двенадцатиразрядный сдвиговый регистр и добавить четыре командные кнопки. В дешифраторе надо использовать свободные выходы счетчика 003, добавить соответствующее число регистров и диодно-резис-торных узлов, а также установить длительность выходного импульса одновибратора равной ЮТ.
С описанным дешифратором можно совместно использовать готовый настроенный (или самодельный) приемник из комплекта приемопередатчика «Сигнал-1». Из этого комплекта можно также использовать и передатчик. Усовершенствованный вариант этого комплекта был опубликован в статье В. Борисова и А. Проскурина «Модифицированный «Сигнал-1» в «Радио», 1984, № 6, с. 50, 51.
ЛИТЕРАТУРА
1. В. Козлов. Узлы аппаратуры управления моделями.— Радио, 1983, № 4, с. 24, 25.
2. В. Иноземцев. Шифратор и дешифратор команд телеуправления.— Радио, 1985. № 7, с. 40, 41.
3. С. Алексеев. Квазисеисорные переключатели на микросхемах.— Радио, 1984. № 3, с. 26—29.