УКВ радиоприемник на КХА-058

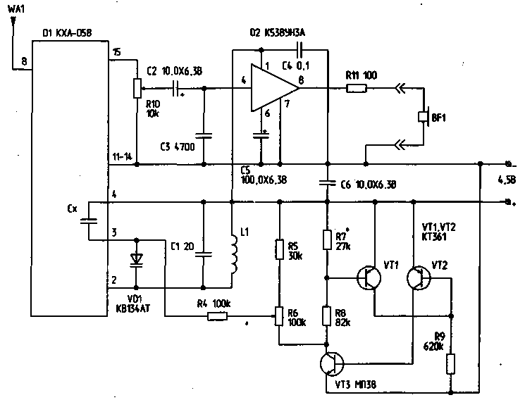
Два года назад у нас в продаже появилась микросхема КХА-058. На ее базе я сделал УКВ радиоприемник, схему которого представляю вашему вниманию. Приемник был задуман для работы на наушники от плейера. Он минимальных размеров и удобен для переноски в нагрудном кармане куртки, рубашки. Так как микросхема потребляет сравнительно большой ток (8...14 мА), в качестве источника питания я применил три цилиндрические батарейки размером 14 х 50 мм. Остальная часть схемы была выбрана с учетом пониженного напряжения питания и малого потребления тока. В качестве УНЧ использовалась микросхема К538УН3А [1]. Она обеспечивает достаточную мощность на нагрузке. Для согласования микросхемы с низкоомной нагрузкой необходимо включить последовательно с ней резистор 100 Ом. Для работы на громкоговоритель можно применить микросхему К157УД1 [2]. Обе микросхемы сохраняют работоспособность при снижении напряжения питания до 3 В. Для перестройки приемника по диапазону используется варикап КВ134АТ (можно использовать КВ132АТ), который включается в контур гетеродина через разделительный конденсатор. В качестве такого конденсатора я использовал свободный конденсатор микросхемы между ее третьей и четвертой ножками.
Для стабилизации опорного напряжения варикапа служит схема микромощного стабилизатора на трех транзисторах. Транзистор VT3 должен быть германиевым. Все это немного усложняет схему, но значительно экономичнее и стабильнее. Коэффициент стабилизации составляет примерно 10. Напряжение стабилизации можно изменять от 1,5 В до 2 В без заметного ухудшения коэффициента стабилизации, подбирая резистор R7. При номиналах, указанных на схеме,опорное напряжение составляет 2 В. Катушка индуктивности в контуре гетеродина содержит 14 витков провода ПЭВ 0,4 мм, намотанных виток к витку на ребристом каркасе 6х6 мм с ферритовым подстроечником диаметром 3 мм. Элементом настройки является резистор R6 типа СП3-36 и т.п. Такой резистор удобен тем, что он миниатюрный, многооборотный и имеет ползунок с меткой, которую можно использовать в качестве шкалы.

Литература

1. Булычев А., Галкин В., Прохоренко В.Аналоговые интегральные схемы.
2. Приемник на аналоговых микросхемах//В помощь радиолюбителю. Вып.106.-С.73.

Радиолюбитель 2/96, В.ИЛЬЮКЕВИЧ, 230023, г.Гродно, ул.Ожешко, 38 - 31.

Обсудить эту статью на форуме (0 ответов).
Вся информация, предоставленная на данном ресурсе разрешена к ознакомлению детям школьного возраста. Все практическое использование может быть связана с повышенной электрической опасностью и разрешено детям только под присмотром взрослых.