УКВ-ЧМ тюнер

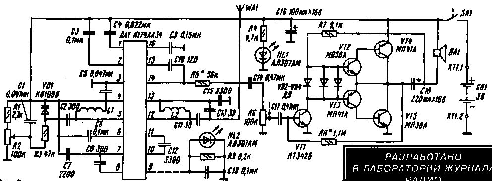
Рис.1

Рис.1
Рис.1

L1 - 5, L2 - 7 витков, диаметр намотки 3,5 мм, провод - 0,3...0,5 мм

Рис.2

Рис.2
Обсудить эту статью на форуме (0 ответов).
Вся информация, предоставленная на данном ресурсе разрешена к ознакомлению детям школьного возраста. Все практическое использование может быть связана с повышенной электрической опасностью и разрешено детям только под присмотром взрослых.