Темброблок увеличивающий басс
- Александр
-
Автор темы
- Не в сети
Less
Больше
07 дек 2012 23:54 - 07 дек 2012 23:55 #6
от Александр
?
Александр ответил в теме Темброблок увеличивающий басс
что то я не нашел такой схемы с отдельным усилением. Doc а можно заменить транзистор в активном ТБ с КТ315 на более усиливающий сигнал? На какой параметр нужно смотреть при выборе транзистора с бОльшим коэф. усиления, ато я непомнюDoc пишет: схема с активной регулировкой тембра, но в ней нет , резального усиления канала
То-есть усиливается все вместе и низкие и высокие (он кстати сам описывает что это пассивный регулятор)
Последнее редактирование: 07 дек 2012 23:55 пользователем Александр.
Пожалуйста Войти или Регистрация, чтобы присоединиться к беседе.
- Александр
-
Автор темы
- Не в сети
08 дек 2012 00:11 #7
от Александр
Александр ответил в теме Темброблок увеличивающий басс
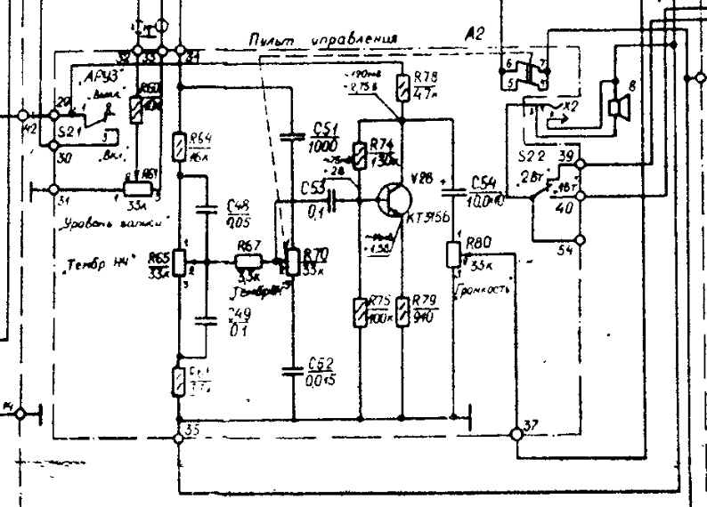
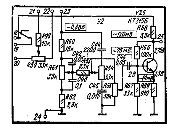
так как я думаю собирать ТБ на одном транзисторе, то объясните какая схема лучше.
Это схемы ТБ с регулятором громкости магнитофона Весна-202-1 (первая в сборе из мафона у меня есть). Как мы видим на первой схеме активный элемент (транзистор) стоит после регулятора громкости, на второй- перед. Как вы думаете, почему разработчики решили изменить схему, в чём плюсы и минусы?
Это схемы ТБ с регулятором громкости магнитофона Весна-202-1 (первая в сборе из мафона у меня есть). Как мы видим на первой схеме активный элемент (транзистор) стоит после регулятора громкости, на второй- перед. Как вы думаете, почему разработчики решили изменить схему, в чём плюсы и минусы?
Пожалуйста Войти или Регистрация, чтобы присоединиться к беседе.
Модераторы: Doc