Цифровой преобразователь частоты

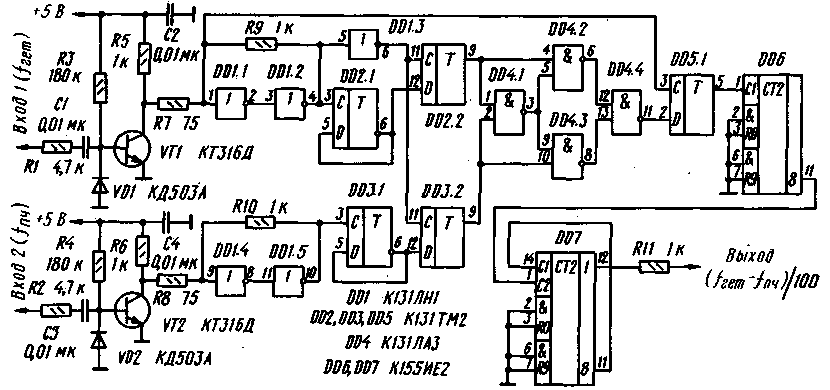
Описываемый узел (см. рисунок), реализующий функцию f1-f2, разрешает использовать в качестве цифровой шкалы частотомер, не позволяющий при измерении вычитать частоту одного сигнала из частоты другого.

На транзисторах VT1, VT2 и инверторах микросхемы DD1 собраны формирователи сигналов гетеродина и ПЧ. Их частоту понижают в два раза триггерами DD2.1 и DD3.1.

c-pr-f1

c-pr-f1

Сигналы половинной частоты поступают соответственно на информационные входы D триггеров DD2.2, DD3.2, а гетеродина (с формирователя через инвертор) - на входы синхронизации С. На элементах 2И-НЕ микросхемы DD4 выполнен элемент ИСКЛЮЧАЮЩЕЕ ИЛИ, с выхода которого снимается фазо-модулированная последовательность импульсов. Из нее и сигнала гетеродина триггер DD5.1 формирует импульсы с частотой следования fгет/2-fпч/2, поступающие на делитель частоты на 50, выполненный на двоичных счетчиках DD6, DD7.

Импульсы со скважностью 2 и частотой (fгет-fпч)/100 с выхода 1 счетчика DD7 подают на частотомер. Если не требуется, чтобы скважность была равна 2, счетчик DD7 можно исключить. При этом частота следования выходных импульсов равна (fгет-fпч)/10

 

С. ЗЕРНИН г. Уссурийск Приморского края
Обсудить эту статью на форуме (0 ответов).
Вся информация, предоставленная на данном ресурсе разрешена к ознакомлению детям школьного возраста. Все практическое использование может быть связана с повышенной электрической опасностью и разрешено детям только под присмотром взрослых.