- Сообщений: 3
- Спасибо получено: 0
Ищу схему генератора стабильрого тока.
- Владимир
-
Автор темы
- Не в сети
Less
Больше
13 апр 2011 07:19 #1
от Владимир
Владимир создал тему: Ищу схему генератора стабильрого тока.
Уважаемые форумчане,помогите найти схему указателя или индикатора переменного и постоянного напряжения с применением генератора стабильного тока начетырех транзисторах (КТ815 и КТ814 а может и 816- 817).Гдето встречал в интернете а сейчас не могу найти.Из этой схемы мне нужен генератор стабильного тока на напряжение от 300 до 20 вольт.Заранее спасибо откликнувшимся.
Пожалуйста Войти или Регистрация, чтобы присоединиться к беседе.
- Владимир
-
Автор темы
- Не в сети
Less
Больше
- Сообщений: 3
- Спасибо получено: 0
26 апр 2011 06:18 #2
от Владимир
Владимир ответил в теме Ищу схему генератора стабильрого тока.
Схему нашел.
Пожалуйста Войти или Регистрация, чтобы присоединиться к беседе.
- Вячеслав
-
- Не в сети
Less
Больше
- Сообщений: 1245
- Спасибо получено: 31
26 апр 2011 19:05 #3
от Вячеслав
Вячеслав ответил в теме Ищу схему генератора стабильрого тока.
Прикрепи глянуть эту схемку.
Пожалуйста Войти или Регистрация, чтобы присоединиться к беседе.
- Владимир
-
Автор темы
- Не в сети
Less
Больше
- Сообщений: 3
- Спасибо получено: 0
28 апр 2011 06:41 #4
от Владимир
Владимир ответил в теме Ищу схему генератора стабильрого тока.
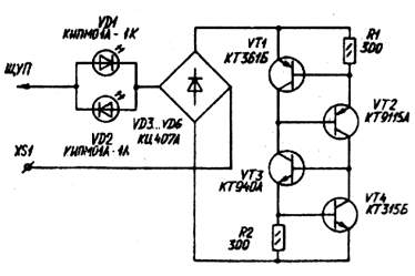
Вот схема. Входное напряжзение от5 до 300 вольт.[attachment=0:x1r6qfeh]<!-- ia0 -->vp.jpg<!-- ia0 -->[/attachment:x1r6qfeh]
Вложения:
Пожалуйста Войти или Регистрация, чтобы присоединиться к беседе.
- Вячеслав
-
- Не в сети
Less
Больше
- Сообщений: 1245
- Спасибо получено: 31
04 мая 2011 08:59 #5
от Вячеслав
Вячеслав ответил в теме Ищу схему генератора стабильрого тока.
Спасибо.
Пожалуйста Войти или Регистрация, чтобы присоединиться к беседе.
Модераторы: Doc