- Сообщений: 153
- Спасибо получено: 0
Двухканальный автосторож
- Григорий
-
Автор темы
- Не в сети
Less
Больше
03 сен 2010 20:21 #1
от Григорий
Григорий создал тему: Двухканальный автосторож
Добрый вечер!
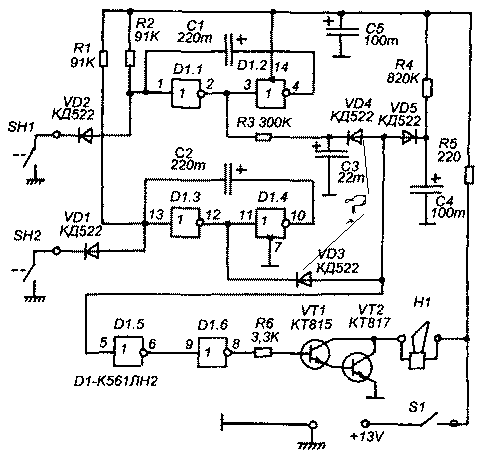
Вот понравилась мне одна схемка из журнала радиоконструктор за 07.2002 год - Двухканальный автосторож на одной микросхеме.
Вместо К561ЛН2 ПРИМЕНИЛ К561ЛН1, закоротив 4 и 12 ножки на минус. Также не поставил пока транзистор VT2(КТ817), остальное всё по схеме с учётом выводов микросхемы. В нагрузку вместо сирены, пока установил светодиод на 12 В. Проверяю пока нижнюю часть схемы, безрезультатно
Возникают у меня смутные сомнения относительно диодов VD3 и VD4, вроде как наоборот должны быть, или ошибаюсь? Но подключал и наоборот, всё как-то схема не работает....
Спасибо!
Вот понравилась мне одна схемка из журнала радиоконструктор за 07.2002 год - Двухканальный автосторож на одной микросхеме.
Вместо К561ЛН2 ПРИМЕНИЛ К561ЛН1, закоротив 4 и 12 ножки на минус. Также не поставил пока транзистор VT2(КТ817), остальное всё по схеме с учётом выводов микросхемы. В нагрузку вместо сирены, пока установил светодиод на 12 В. Проверяю пока нижнюю часть схемы, безрезультатно
Возникают у меня смутные сомнения относительно диодов VD3 и VD4, вроде как наоборот должны быть, или ошибаюсь? Но подключал и наоборот, всё как-то схема не работает....
Спасибо!
Вложения:
Пожалуйста Войти или Регистрация, чтобы присоединиться к беседе.
- Vlad
-
- Не в сети
Less
Больше
- Сообщений: 392
- Спасибо получено: 0
03 сен 2010 22:27 #2
от Vlad
Vlad ответил в теме Двухканальный автосторож
Перезалить можно вложения в другом формате PNG или GIF что то мой браузер не хочет Tif показывать
( ( странно может не в браузере дело ?
Пожалуйста Войти или Регистрация, чтобы присоединиться к беседе.
- Александр
-
- Не в сети
Less
Больше
- Сообщений: 117
- Спасибо получено: 0
04 сен 2010 15:47 #3
от Александр
Александр ответил в теме Двухканальный автосторож
У меня тоже не показывает 
Скинь лучше gif изображения.
Скинь лучше gif изображения.
Пожалуйста Войти или Регистрация, чтобы присоединиться к беседе.
- Григорий
-
Автор темы
- Не в сети
Less
Больше
- Сообщений: 153
- Спасибо получено: 0
04 сен 2010 16:45 #4
от Григорий
Григорий ответил в теме Двухканальный автосторож
Извиняюсь, вот выкладываю в другом формате.....
Вложения:
Пожалуйста Войти или Регистрация, чтобы присоединиться к беседе.
- Светлана
-
- Не в сети
04 сен 2010 17:05 #5
от Светлана
Если хотите, чтобы жизнь улыбалась вам, подарите ей своё хорошее настроение
Светлана ответил в теме Двухканальный автосторож
По моему мнению, схема ошибочна. Эти диоды должны, по задумке автора, выполнять функцию ИЛИ, но они её не выполняют. Я бы переделала схему, используя две микросхемы ЛА7 или ЛЕ5, заменив диоды логическим элементом.
Если хотите, чтобы жизнь улыбалась вам, подарите ей своё хорошее настроение
Пожалуйста Войти или Регистрация, чтобы присоединиться к беседе.
Модераторы: Doc