- Сообщений: 1116
- Спасибо получено: 46
Предлагаю обсудить...
- Николай Петрович
-
- Не в сети
Less
Больше
28 янв 2016 05:02 - 28 янв 2016 08:42 #11
от Николай Петрович
Николай Петрович ответил в теме Предлагаю обсудить...
Можно. Только здесь будет одна лопасть, которая всегда идёт по ветру. Для практической реализации проекта лопастей нужно будет не менее 2х. Т.е. 2 коленчатых вала, две лопасти, 2 водила и т.д. Теоретически может быть и одна лопасть, как я и начертил.
Rrenovatio, Вы очень близко подошли к решению работы ветродвигателя. Известно, что парусные корабли могли плыть против ветра, это во многом поясняет (пояснит в дальнейшем) работу ветродвигателя.
Нашол ещё один патент он проще первого и того, который чертил. Их работа очень похожа хоть и есть различия.
патент РФ 2022161
www.freepatent.ru/patents/2022161
Ещё нащол и 1й патент, но более понятный. Патентное бюро сами решают какие чертежи и что из описания публиковать.
www.findpatent.ru/patent/201/2015409.html
ВНИМАНИЕ! Внёс дополнения к чертежу ветродвигателя. #8
Ну вот! объяснения к работе патент РФ 2022161 исчезли, вместо их реклама...
Rrenovatio, Вы очень близко подошли к решению работы ветродвигателя. Известно, что парусные корабли могли плыть против ветра, это во многом поясняет (пояснит в дальнейшем) работу ветродвигателя.
Нашол ещё один патент он проще первого и того, который чертил. Их работа очень похожа хоть и есть различия.
патент РФ 2022161
www.freepatent.ru/patents/2022161
Ещё нащол и 1й патент, но более понятный. Патентное бюро сами решают какие чертежи и что из описания публиковать.
www.findpatent.ru/patent/201/2015409.html
ВНИМАНИЕ! Внёс дополнения к чертежу ветродвигателя. #8
Ну вот! объяснения к работе патент РФ 2022161 исчезли, вместо их реклама...
Последнее редактирование: 28 янв 2016 08:42 пользователем Николай Петрович.
Пожалуйста Войти или Регистрация, чтобы присоединиться к беседе.
- Николай Петрович
-
- Не в сети
Less
Больше
- Сообщений: 1116
- Спасибо получено: 46
28 янв 2016 19:55 - 28 янв 2016 20:27 #12
от Николай Петрович
Николай Петрович ответил в теме Предлагаю обсудить...
Для более надёжной работы ветродвигателя применяем 2 коленвала. Соединяем их между собой, например, как в патенте 2022161
Это необхпдимо для более равномерного получения мощности от ветродвигателя и его надёжного запуска. Работает он так. Вид с верху. Положение лопастей в момент пуска:
Далее по порядку рис 1 - 6 ( Показано схемотично, что бы объяснить его принцип действия). Если что не понятно спрашивайте.
Показана работа одной лопасти. Вторая работает аналогично только в другую сторону, т.е. против часовой стрелки.
Это необхпдимо для более равномерного получения мощности от ветродвигателя и его надёжного запуска. Работает он так. Вид с верху. Положение лопастей в момент пуска:
Далее по порядку рис 1 - 6 ( Показано схемотично, что бы объяснить его принцип действия). Если что не понятно спрашивайте.
Показана работа одной лопасти. Вторая работает аналогично только в другую сторону, т.е. против часовой стрелки.
Вложения:
Последнее редактирование: 28 янв 2016 20:27 пользователем Николай Петрович.
Пожалуйста Войти или Регистрация, чтобы присоединиться к беседе.
- Rrenovatio
-
- Не в сети
Less
Больше
- Сообщений: 2505
- Спасибо получено: 78
28 янв 2016 20:18 #13
от Rrenovatio
Rrenovatio ответил в теме Предлагаю обсудить...
Ого. :blink:
думаю выражение: что просто то гениально тут не уместно.
Мне кажется сложно воплотить такую конструкцию в реале,
много всяких раздаточных соединительных узлов которые просто так не продаются,
их нужно заказывать и не просто так а технически должна быть нормативно
написан чертёж - иначе просто так никто ничего не сделает.
+ сложность в дальнейшем обслуживании, нет базы для замены (если что сломается),
а ломаться будет!!! это ветер - силище... ветер ветер ты могуч.... и т.д.
Я всё же сторонник ремонтной базы которая существует, скажем в автопроме!
нужно что, сломалось - пошёл купил и заменил.
а значит выполнять задачу нужно уже со существующих железяк, которые применяются на
волгах, жигулях, москвичах и т.д.
дешевле будет...
:whistle:
а так конструкция конечно серьёзная, я б не взялся...
слишком уж тех. сложна.
думаю выражение: что просто то гениально тут не уместно.
Мне кажется сложно воплотить такую конструкцию в реале,
много всяких раздаточных соединительных узлов которые просто так не продаются,
их нужно заказывать и не просто так а технически должна быть нормативно
написан чертёж - иначе просто так никто ничего не сделает.
+ сложность в дальнейшем обслуживании, нет базы для замены (если что сломается),
а ломаться будет!!! это ветер - силище... ветер ветер ты могуч.... и т.д.
Я всё же сторонник ремонтной базы которая существует, скажем в автопроме!
нужно что, сломалось - пошёл купил и заменил.
а значит выполнять задачу нужно уже со существующих железяк, которые применяются на
волгах, жигулях, москвичах и т.д.
дешевле будет...
:whistle:
а так конструкция конечно серьёзная, я б не взялся...
слишком уж тех. сложна.
Пожалуйста Войти или Регистрация, чтобы присоединиться к беседе.
- Rrenovatio
-
- Не в сети
Less
Больше
- Сообщений: 2505
- Спасибо получено: 78
28 янв 2016 20:37 #14
от Rrenovatio
Rrenovatio ответил в теме Предлагаю обсудить...
пока писал, мысль проскочила :dry:

Берём волговский задний мост, снимаем крышку и сваркой обвариваем дифференциал,
что б заблокировать прокрутку одного колеса (что б колёса крутились вместе в паре)
и на базе колёсных дисков устанавливаем лопасти (оцинк. мет. листы): есть в продаже.
как то так
тем более там уже есть своеобразный редуктор, через который мы при помощи кардана:
присоединим думаю любое КПП скажем с москвича (так будет дешевле) на увеличение оборотов
шиворот - навыворот!
и подключим ГЕНЕРАТОР! :evil:
Берём волговский задний мост, снимаем крышку и сваркой обвариваем дифференциал,
что б заблокировать прокрутку одного колеса (что б колёса крутились вместе в паре)
и на базе колёсных дисков устанавливаем лопасти (оцинк. мет. листы): есть в продаже.
как то так
тем более там уже есть своеобразный редуктор, через который мы при помощи кардана:
присоединим думаю любое КПП скажем с москвича (так будет дешевле) на увеличение оборотов
шиворот - навыворот!
и подключим ГЕНЕРАТОР! :evil:
Вложения:
Пожалуйста Войти или Регистрация, чтобы присоединиться к беседе.
- Rrenovatio
-
- Не в сети
Less
Больше
- Сообщений: 2505
- Спасибо получено: 78
28 янв 2016 20:51 - 28 янв 2016 21:05 #15
от Rrenovatio
Rrenovatio ответил в теме Предлагаю обсудить...
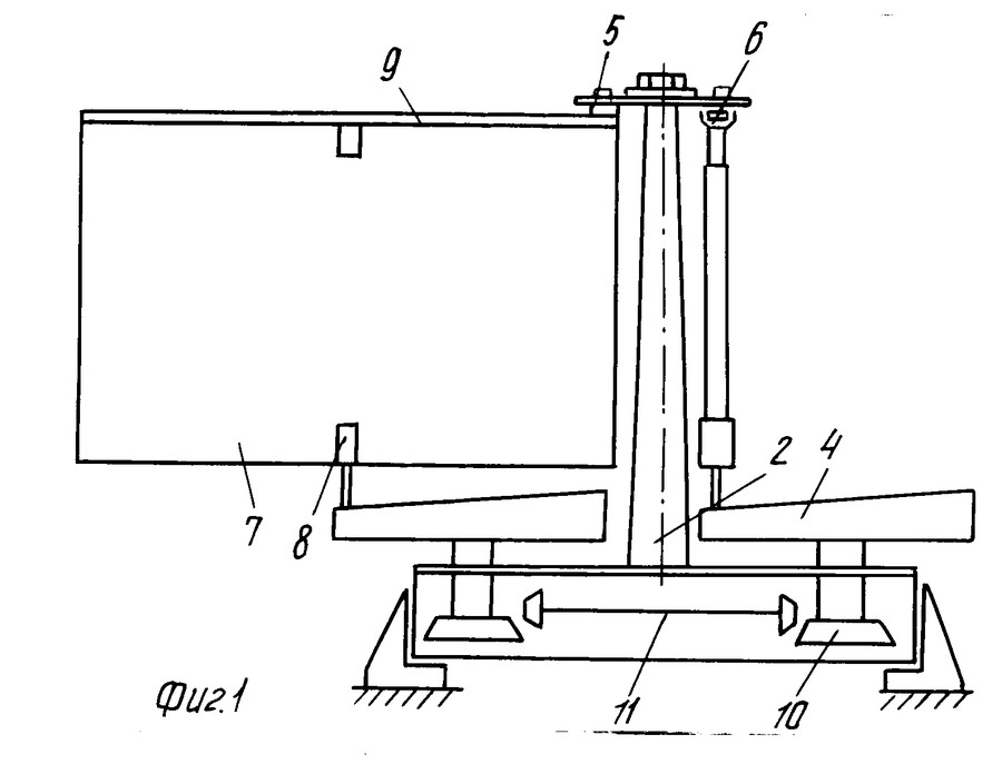
А сами лопасти продумать так что бы эти железные листы скажем были в своей раме
на упорном подшипнике то есть когда лопасть опускается вниз (принцип катушки),
и на неё дует ветер, то она упрется в стопор и никуда не двигаясь стоит на своём месте,
как только она начнёт подниматься вверх (что бы снизить обратное давление ветра)
она под своей же тяжестью оторвётся от стопора и начнёт ложится, по направлению ветра до
обратного движения - когда её опять подхватит ветер и розправившись она опять упрётся в стопор!
и т.д.

как то так...
на упорном подшипнике то есть когда лопасть опускается вниз (принцип катушки),
и на неё дует ветер, то она упрется в стопор и никуда не двигаясь стоит на своём месте,
как только она начнёт подниматься вверх (что бы снизить обратное давление ветра)
она под своей же тяжестью оторвётся от стопора и начнёт ложится, по направлению ветра до
обратного движения - когда её опять подхватит ветер и розправившись она опять упрётся в стопор!
и т.д.
как то так...
Вложения:
Последнее редактирование: 28 янв 2016 21:05 пользователем Rrenovatio.
Пожалуйста Войти или Регистрация, чтобы присоединиться к беседе.
Модераторы: Doc