- Сообщений: 87
- Спасибо получено: 0
передатчики на 3 мгц.
- 12213123
-
Автор темы
- Не в сети
Less
Больше
28 апр 2009 11:24 #26
от 12213123
12213123 ответил в теме передатчики на 3 мгц.
Радиопираты Челябинска, Красноярска и Хабаровска собрали передатчики и пиратские антены опубликованые у меня на сайте.Связи проводят в полосе частот 3,15-3,2мгц.Всем кто слышит публикуйте свои отзывы по приему как у меня на сайте , так и здесь на форуме.
Пожалуйста Войти или Регистрация, чтобы присоединиться к беседе.
- Роман
-
- Не в сети
Less
Больше
- Сообщений: 297
- Спасибо получено: 0
28 апр 2009 14:44 #27
от Роман
Роман ответил в теме передатчики на 3 мгц.
Уточни время и модуляцию- послушаем
Пожалуйста Войти или Регистрация, чтобы присоединиться к беседе.
- 12213123
-
Автор темы
- Не в сети
Less
Больше
- Сообщений: 87
- Спасибо получено: 0
29 апр 2009 16:36 #28
от 12213123
12213123 ответил в теме передатчики на 3 мгц.
привет.
модуляция АМ
а вот время не знаю (, в темное время суток работают на 3мгц , днем то прохода нет (., ну и еще учитывают на какую сторону работаеш , на восток - там раньше темнеет и быстрее светает.
На запад то наоборот , темнеет позже и светает позже.
Если допустим слушать пиратов из Хабаровска ,то там вроде как 9часов разница с Москвой.
Вроде 9 точно не знаю.
Вот и смотри в Москве можно услышать их когда там темно , но и в Хабаровске должно быть темно.
Это в Хабаровске надо включаться под утро на расвете и в Москве слушать когда там начинает темнеть.
Ну это я расклад делаю на сегодняшний день.
Потом попозже темное время суток сократится и траса эта закроется и откроется только осенью., когда будет хотябы часов 9 темного времени между пунктами наблюдения и передачи.
модуляция АМ
а вот время не знаю (, в темное время суток работают на 3мгц , днем то прохода нет (., ну и еще учитывают на какую сторону работаеш , на восток - там раньше темнеет и быстрее светает.
На запад то наоборот , темнеет позже и светает позже.
Если допустим слушать пиратов из Хабаровска ,то там вроде как 9часов разница с Москвой.
Вроде 9 точно не знаю.
Вот и смотри в Москве можно услышать их когда там темно , но и в Хабаровске должно быть темно.
Это в Хабаровске надо включаться под утро на расвете и в Москве слушать когда там начинает темнеть.
Ну это я расклад делаю на сегодняшний день.
Потом попозже темное время суток сократится и траса эта закроется и откроется только осенью., когда будет хотябы часов 9 темного времени между пунктами наблюдения и передачи.
Пожалуйста Войти или Регистрация, чтобы присоединиться к беседе.
- 12213123
-
Автор темы
- Не в сети
Less
Больше
- Сообщений: 87
- Спасибо получено: 0
03 мая 2009 15:18 #29
от 12213123
12213123 ответил в теме передатчики на 3 мгц.
здесь у меня на форуме возник вопрос у ребят , а что же слушать этих дальнобойщиков , собравших по приведеным на моем сайте передатчики и антены.Попробую раскрыть эту проблему :
повторюсь немного , что бы было лучше понятно.
Антены типа диполь , горизонтальный или с неким наклоном треугольник ,разного рода веревки типа г образные или просто наклоные лучи - все это как на прием , так и на передачу хороши при связях по области , крае или между соседними областями , краями , НО на даль , а это свыше нескольких тысяч км антены такого рода работают плохо (.
Исключением является антена Инвертор V, это тот же диполь , но у него концы опущены к земле , в следствии чего такая антена имеет много лепестков излучения в разных плоскостях , и она идет для связей на 3хмгц как на близкие , средние так и большие растояния.
Это универсальная антена , но и соответственно мощность излучения на каждом из этих растояний не высока ,т.к. она раскидана лепестками антены на разные углы излучения. НО зато у ней простая конструкция.
Оптимальная на даль антена -это вертикальная. НО у ней сложная конструкция , сама мачта высотой 23 метра трудно выполнима (,а сурогаты что предлагают в виде разного рода укарачения -это и есть сурогаты (.
Я думаю все понимают разницу между сливочным маслом и маргарином . А веть маргарин и задумывался как заменитель дорогого сливочного масла.Сейчас научились делать маргарины по вкусу не отличиш от сливочного масла , но разве оно такое же полезное ? или в нем такой же состав разных элиментов ? конечно нет (, просто мы сами обманываем свой вкус , и не от хорошей жизни (.
Так и здесь , всякое укарачение это сурогат от реальности (.
Потом вертикалка как излучает , так и принимает при своих углах излучения , и если слушать на ее и допустим на треугольник ), то мы заметим , что вертикалка хорошо принимает именно удаленые , дальние станции ,а треугольник или тот же инвертор ведут прием ближе удаленных станций , обласных , с соседней области . На вертикалку эти станции прослушиваются плохо , но зато там можно услышать те станции , которые не услышиш на обычный тип антен.
НО вертикалка дает круговое излучение , равномерно во все стороны. И даже если у вас противовесы будут сконцентрированы в определеных направлениях , то вы конечно этим увеличите некую направленость антены , но только НЕКУЮ (.
Для устранения этих недостатков и была придумана еще в 80е годы так называемая пиратская антена.
Она подробно описана у меня на сайте ,но в короточке повторюсь -по конструкции она представляет собой провод поднятый на одной мачте (деревянной) до высоты 12-15 метров. и на макушке мачты стоит изолятор. Лучи отходящие к земле на концах заземляются
обячным типом заземлений. Запитка производится с любой из сторон антены каоксиальным кабелем 50или 75 ом (без разницы)
оплетка кабеля подключается прям на точку заземления луча антены а центральная жила в 3-4 метрах на луч антены.
такая антена имеет направленость как у обычной рамки и соответственно в своем направлении концентрирует излучение чем и повышает прием и передачу излучения в нужном направлении.
Что бы сменить направление приема - передачи , нужно лучи немного развернуть в нужном направлении и подключить их к новым точкам заземления.
Сила приема в отличии от вертикального вибратора на слух явно выше на несколько балов ).
Противовесы такой антене не нужны ,если конечно вы можете выполнить нормальные обычные заземления.
Ну а если вы ее будете распологать на крыше многоэтажки ,где обычное заземление выполнить невозможно ,то вам придется
изготавливать искуственную землю (, что конечно хреново (, но что зделаеш (.
Без всякого ущерба для дальних связей такая антена прекрасно работает в любой низинке ) чем и идеально подходит для часного сектора проживания людей ,ее вытаскивать на какую то горку в общем то и не нужно ).Что как ни странно , веть всякая антена любит высоту своего место расположения .
повторюсь немного , что бы было лучше понятно.
Антены типа диполь , горизонтальный или с неким наклоном треугольник ,разного рода веревки типа г образные или просто наклоные лучи - все это как на прием , так и на передачу хороши при связях по области , крае или между соседними областями , краями , НО на даль , а это свыше нескольких тысяч км антены такого рода работают плохо (.
Исключением является антена Инвертор V, это тот же диполь , но у него концы опущены к земле , в следствии чего такая антена имеет много лепестков излучения в разных плоскостях , и она идет для связей на 3хмгц как на близкие , средние так и большие растояния.
Это универсальная антена , но и соответственно мощность излучения на каждом из этих растояний не высока ,т.к. она раскидана лепестками антены на разные углы излучения. НО зато у ней простая конструкция.
Оптимальная на даль антена -это вертикальная. НО у ней сложная конструкция , сама мачта высотой 23 метра трудно выполнима (,а сурогаты что предлагают в виде разного рода укарачения -это и есть сурогаты (.
Я думаю все понимают разницу между сливочным маслом и маргарином . А веть маргарин и задумывался как заменитель дорогого сливочного масла.Сейчас научились делать маргарины по вкусу не отличиш от сливочного масла , но разве оно такое же полезное ? или в нем такой же состав разных элиментов ? конечно нет (, просто мы сами обманываем свой вкус , и не от хорошей жизни (.
Так и здесь , всякое укарачение это сурогат от реальности (.
Потом вертикалка как излучает , так и принимает при своих углах излучения , и если слушать на ее и допустим на треугольник ), то мы заметим , что вертикалка хорошо принимает именно удаленые , дальние станции ,а треугольник или тот же инвертор ведут прием ближе удаленных станций , обласных , с соседней области . На вертикалку эти станции прослушиваются плохо , но зато там можно услышать те станции , которые не услышиш на обычный тип антен.
НО вертикалка дает круговое излучение , равномерно во все стороны. И даже если у вас противовесы будут сконцентрированы в определеных направлениях , то вы конечно этим увеличите некую направленость антены , но только НЕКУЮ (.
Для устранения этих недостатков и была придумана еще в 80е годы так называемая пиратская антена.
Она подробно описана у меня на сайте ,но в короточке повторюсь -по конструкции она представляет собой провод поднятый на одной мачте (деревянной) до высоты 12-15 метров. и на макушке мачты стоит изолятор. Лучи отходящие к земле на концах заземляются
обячным типом заземлений. Запитка производится с любой из сторон антены каоксиальным кабелем 50или 75 ом (без разницы)
оплетка кабеля подключается прям на точку заземления луча антены а центральная жила в 3-4 метрах на луч антены.
такая антена имеет направленость как у обычной рамки и соответственно в своем направлении концентрирует излучение чем и повышает прием и передачу излучения в нужном направлении.
Что бы сменить направление приема - передачи , нужно лучи немного развернуть в нужном направлении и подключить их к новым точкам заземления.
Сила приема в отличии от вертикального вибратора на слух явно выше на несколько балов ).
Противовесы такой антене не нужны ,если конечно вы можете выполнить нормальные обычные заземления.
Ну а если вы ее будете распологать на крыше многоэтажки ,где обычное заземление выполнить невозможно ,то вам придется
изготавливать искуственную землю (, что конечно хреново (, но что зделаеш (.
Без всякого ущерба для дальних связей такая антена прекрасно работает в любой низинке ) чем и идеально подходит для часного сектора проживания людей ,ее вытаскивать на какую то горку в общем то и не нужно ).Что как ни странно , веть всякая антена любит высоту своего место расположения .
Пожалуйста Войти или Регистрация, чтобы присоединиться к беседе.
- Владимир
-
Less
Больше
- Спасибо получено: 0
14 июнь 2009 18:04 #30
от Владимир
Владимир ответил в теме передатчики на 3 мгц.
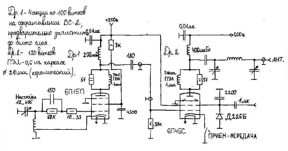
Передатчик и модулятор :roll:
Вложения:
Пожалуйста Войти или Регистрация, чтобы присоединиться к беседе.
Модераторы: Doc