- Сообщений: 2505
- Спасибо получено: 78
Нужна схема МОЩНЕЙШЕГО ВЧ ГЕНЕРАТОРА!
- Rrenovatio
-
Автор темы
- Не в сети
Less
Больше
05 нояб 2013 20:33 #16
от Rrenovatio
Rrenovatio ответил в теме Нужна схема МОЩНЕЙШЕГО ВЧ ГЕНЕРАТОРА!
а и самое главное вибратор под мою катушку пересчитать!!!
он в самом низу... :silly:
он в самом низу... :silly:
Пожалуйста Войти или Регистрация, чтобы присоединиться к беседе.
- Rrenovatio
-
Автор темы
- Не в сети
Less
Больше
- Сообщений: 2505
- Спасибо получено: 78
05 нояб 2013 20:59 #17
от Rrenovatio
Rrenovatio ответил в теме Нужна схема МОЩНЕЙШЕГО ВЧ ГЕНЕРАТОРА!
Вложения:
Пожалуйста Войти или Регистрация, чтобы присоединиться к беседе.
- Rrenovatio
-
Автор темы
- Не в сети
Less
Больше
- Сообщений: 2505
- Спасибо получено: 78
05 нояб 2013 21:09 - 05 нояб 2013 21:18 #18
от Rrenovatio
или всё же такая, только ещё одну лампу 6п3с в параллель!
или штуки 4... таких же? или что по мощнее ГУ50 и напряжение анодное вольт так 2000 взять с трансформатора микроволновки?
господа высказываем своё мнение! любой совет будет услышан!!! :whistle:

вибратор думаю витков 6 - 8 по спирали... :whistle:
и тогда всё вместе заработает в резонансе!!!
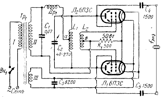
л1 - это 6н3с ? или 6н8с??? :blink: и транс л1??? сколько на сколько?
Rrenovatio ответил в теме Нужна схема МОЩНЕЙШЕГО ВЧ ГЕНЕРАТОРА!
или всё же такая, только ещё одну лампу 6п3с в параллель!
или штуки 4... таких же? или что по мощнее ГУ50 и напряжение анодное вольт так 2000 взять с трансформатора микроволновки?
господа высказываем своё мнение! любой совет будет услышан!!! :whistle:
вибратор думаю витков 6 - 8 по спирали... :whistle:
и тогда всё вместе заработает в резонансе!!!
л1 - это 6н3с ? или 6н8с??? :blink: и транс л1??? сколько на сколько?
Последнее редактирование: 05 нояб 2013 21:18 пользователем Rrenovatio.
Пожалуйста Войти или Регистрация, чтобы присоединиться к беседе.
- Rrenovatio
-
Автор темы
- Не в сети
Less
Больше
- Сообщений: 2505
- Спасибо получено: 78
05 нояб 2013 21:31 #19
от Rrenovatio
Rrenovatio ответил в теме Нужна схема МОЩНЕЙШЕГО ВЧ ГЕНЕРАТОРА!
нашёл я эту книгу
и там тоже самое... лампа 6н8с! а за транс НИЧЕГО! ст. 669...
а кстати: Радио ностальгия! старые книги - библиотека!!!
www.lib.radionostalgia.ca/Books/SpRL/sprl.html
пользуйтесь, если нужно кому. :whistle:
такое бывает редко найдёшь!
а кстати: Радио ностальгия! старые книги - библиотека!!!
www.lib.radionostalgia.ca/Books/SpRL/sprl.html
пользуйтесь, если нужно кому. :whistle:
такое бывает редко найдёшь!
Пожалуйста Войти или Регистрация, чтобы присоединиться к беседе.
- Николай Петрович
-
- Не в сети
Less
Больше
- Сообщений: 1116
- Спасибо получено: 46
06 нояб 2013 00:29 - 06 нояб 2013 00:49 #20
от Николай Петрович
Николай Петрович ответил в теме Нужна схема МОЩНЕЙШЕГО ВЧ ГЕНЕРАТОРА!
Никогда таких катушек и мощностей не использовал. Но, а что если для определения резонанса, собрать слабенький генератор? Частоту определить осциллографом, или счётчиком?
Мощные лампы можно спросить в узле связи. Видел их там ( для радиотрансляции). размер - выше колена, водяное охлаждение, с вентилятором. Мощность не менее кВта. Думаю, что могу узнать подробнее, если нужно.
Мощные лампы можно спросить в узле связи. Видел их там ( для радиотрансляции). размер - выше колена, водяное охлаждение, с вентилятором. Мощность не менее кВта. Думаю, что могу узнать подробнее, если нужно.
Последнее редактирование: 06 нояб 2013 00:49 пользователем Николай Петрович.
Пожалуйста Войти или Регистрация, чтобы присоединиться к беседе.
Модераторы: Doc