- Сообщений: 2505
- Спасибо получено: 78
"Чистая синусоида"
- Rrenovatio
-
Автор темы
- Не в сети
Less
Больше
14 дек 2010 17:31 #51
от Rrenovatio
Rrenovatio ответил в теме "Чистая синусоида"
G - на базу...
Е - на эмиттер...
С - на коллектор...
Е - на эмиттер...
С - на коллектор...
Вложения:
Пожалуйста Войти или Регистрация, чтобы присоединиться к беседе.
- Юрий
-
- Не в сети
Less
Больше
- Сообщений: 299
- Спасибо получено: 4
14 дек 2010 17:37 #52
от Юрий
А может тогда вообще в сторону тиристоров или тринисторов посмотреть?
Тут конечно банальный прямоугольник, но сама идея управлением тиристорами в качестве ключей.
Юрий ответил в теме "Чистая синусоида"
Rrenovatio пишет: G - на базу...
Е - на эмиттер...
С - на коллектор...
А может тогда вообще в сторону тиристоров или тринисторов посмотреть?
Тут конечно банальный прямоугольник, но сама идея управлением тиристорами в качестве ключей.
Вложения:
Пожалуйста Войти или Регистрация, чтобы присоединиться к беседе.
- Rrenovatio
-
Автор темы
- Не в сети
Less
Больше
- Сообщений: 2505
- Спасибо получено: 78
14 дек 2010 17:45 #53
от Rrenovatio
Rrenovatio ответил в теме "Чистая синусоида"
xcom14 дружище дело в том что данный вид транзисторов это новинка или почти...
но сам факт того что они работают с большими токами - 45А - 65А и это при низкой своей себестоимости... тиристоры или тринисторы просто отдыхают...
и опять таки схема где то 70-80 годов... я уже такую видел...
чистый меандр, и с генерацией есть сомнения, в той что я собрал там мультик - открыто одно плечо, второе закрыто и наоборот... а здесь они могут работать невпопад!!!
но сам факт того что они работают с большими токами - 45А - 65А и это при низкой своей себестоимости... тиристоры или тринисторы просто отдыхают...
и опять таки схема где то 70-80 годов... я уже такую видел...
чистый меандр, и с генерацией есть сомнения, в той что я собрал там мультик - открыто одно плечо, второе закрыто и наоборот... а здесь они могут работать невпопад!!!
Пожалуйста Войти или Регистрация, чтобы присоединиться к беседе.
- Rrenovatio
-
Автор темы
- Не в сети
Less
Больше
- Сообщений: 2505
- Спасибо получено: 78
14 дек 2010 17:52 #54
от Rrenovatio
Rrenovatio ответил в теме "Чистая синусоида"
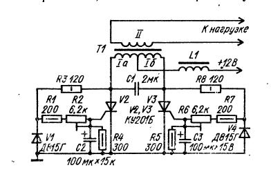
Здесь есть синусоид...
только вот трансформатора такого нет... даже представления как он выглядит не имею!!!
www.radio-portal.ru/index.php/la ... 0-12-12-17
только вот трансформатора такого нет... даже представления как он выглядит не имею!!!
www.radio-portal.ru/index.php/la ... 0-12-12-17
Пожалуйста Войти или Регистрация, чтобы присоединиться к беседе.
- Rrenovatio
-
Автор темы
- Не в сети
Less
Больше
- Сообщений: 2505
- Спасибо получено: 78
14 дек 2010 17:59 #55
от Rrenovatio
Rrenovatio ответил в теме "Чистая синусоида"
Вот!!!
Вложения:
Пожалуйста Войти или Регистрация, чтобы присоединиться к беседе.
Модераторы: Doc